
|
見出番号 |
部品番号 |
部品名 |
数量 |
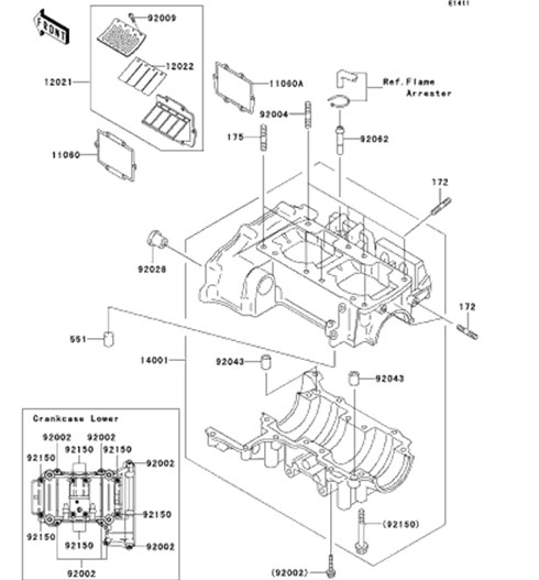
11060 |
11060-3717 |
ガスケツト,リ-ド バルブ
|
|
11060A |
11060-3757 |
ガスケツト
|
|
12021 |
12021-3708 |
バルブアツシ(リ-ド)
|
|
12022 |
12022-3703 |
バルブ(リ-ド)
|
|
14001 |
14001-5387 |
**生産打切品**セツト(クランクケ-ス)
|
|
92002 |
92002-3726 |
ボルト,6X30
|
|
92004 |
92004-3752 |
スタツド,クランク ケ-ス
|
|
92009 |
92009-1371 |
スクリユ-,3X6
|
|
92028 |
92028-3718 |
ブツシング
|
|
92043 |
92043-1037 |
ピン,10X14
|
|
92062 |
92062-3705 |
ノズル
|
|
92150 |
92150-3708 |
ボルト,8X65
|
|
172 |
172R0620 |
ウエコミ ボルト
|
|
175 |
175R1035 |
ウエコミ ボルト(ホソメ)
|
|
551 |
551R0612 |
ノツク ピン
|
|
|