純正パーツカタログよりご注文又はお見積
KAWASAKI JETSKI  2007年式  800SX-R JS800A7F  > シリンダヘッド/シリンダ

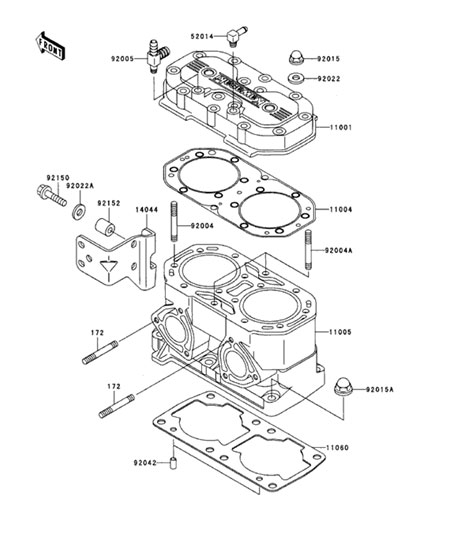
見出番号

部品番号

部品名

数量

11001

11001-3746

ヘツド(シリンダ)

11004

11004-3720

ガスケツト(ヘツド)

11005

11005-3760

シリンダ(エンジン)

11060

11060-3711

ガスケツト,シリンダ ベ-ス

14044

14044-3728

ホルダ(ケ-ブル)

52014

52014-3721

エルボ

92004

92004-3715

スタツド,8X43

92004A

92004-3719

スタツド

92005

92005-3749

フイテイング

92015

92015-1371

ナツト,キヤツプ,8MM

92015A

92015-1649

ナツト

92022

92022-1964

ワツシヤ

92022A

92022-3743

ワツシヤ,8.2X18X1.5

92042

92042-007

ドエル ピン,6.3X8X14

92150

92150-3833

ボルト,8X35

92152

92152-3736

カラ-

172

172R0830

ウエコミ ボルト