純正パーツカタログよりご注文又はお見積
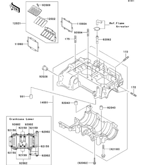
KAWASAKI JETSKI  2006年式  800SX-R JS800A6F  > クランクケース

見出番号

部品番号

部品名

数量

11060

11060-3717

ガスケツト,リ-ド バルブ

11060A

11060-3757

ガスケツト

12021

12021-3708

バルブアツシ(リ-ド)

12022

12022-3703

バルブ(リ-ド)

14001

14001-5391

セツト(クランクケ-ス)

92002

92002-3726

ボルト,6X30

92004

92004-3752

スタツド,クランク ケ-ス

92009

92009-1371

スクリユ-,3X6

92028

92028-3718

ブツシング

92043

92043-1037

ピン,10X14

92062

92062-3705

ノズル

92150

92150-3708

ボルト,8X65

172

172R0620

ウエコミ ボルト

175

175R1035

ウエコミ ボルト(ホソメ)

551

551R0612

ノツク ピン