
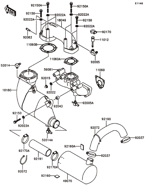
|
見出番号 |
部品番号 |
部品名 |
数量 |
11012 |
11012-3757 |
キヤツプ
|
|
11060 |
11060-3767 |
ガスケツト
|
|
11060A |
11060-3768 |
ガスケツト,マニホ-ルド
|
|
11060B |
11060-3769 |
ガスケツト,マフラ
|
|
18049 |
18049-3779 |
**生産打切品**パイプ(エキゾ-スト)
|
|
18180 |
18180-3714 |
ボデイ(マフラ)
|
|
49070 |
49070-3725 |
**生産打切品**マフラーコンプ
|
|
52014 |
52014-3709 |
**生産打切品**エルボ
|
|
52014A |
52014-3711 |
エルボ
|
|
59081 |
59081-3726 |
**生産打切品**マニホ-ルド(エキゾ-スト)
|
|
92005 |
92005-3715 |
フイテイング
|
|
92005A |
92005-3720 |
フイテイング
|
|
92015 |
92015-1371 |
ナツト,キヤツプ,8MM
|
|
92022 |
92022-1964 |
ワツシヤ
|
|
92022A |
92022-3742 |
ワツシヤ
|
|
92037 |
92037-3738 |
クランプ
|
|
92043 |
92043-1266 |
ピン,11X14X12.3
|
|
92062 |
92062-3705 |
ノズル
|
|
92072 |
92072-3872 |
バンド,L=368.3
|
|
92150 |
92150-3819 |
ボルト,10C50
|
|
92150A |
92150-3825 |
ボルト,10X125
|
|
92160 |
92160-3864 |
ダンパ,25X25
|
|
92160A |
92160-3865 |
ダンパ,40X25
|
|
92170 |
92170-3729 |
**Web参照**クランプ
|
|
92170A |
92171-3715 |
クランプ
|
|
92190 |
92190-3938 |
チユ-ブ,マフラ(テールパイプ)
|
|
92191 |
92191-3786 |
チユ-ブ,チヤンバ(ウオ-タ ポンプ)
|
|
|