
|
見出番号 |
部品番号 |
部品名 |
数量 |
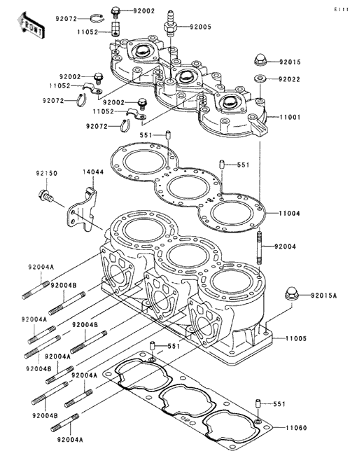
11001 |
11001-3740 |
**生産打切品**ヘツド(シリンダ)
|
|
11004 |
11004-3715 |
ガスケツト(ヘツド)
|
|
11005 |
11005-3752 |
**生産打切品**シリンダ(エンジン)
|
|
11052 |
11052-3758 |
ブラケツト
|
|
11060 |
11060-3817 |
**生産打切品**ガスケツト,シリンダ ベ-ス
|
|
14044 |
14044-3743 |
**生産打切品**ホルダ(ケ-ブル),シリンダ
|
|
92002 |
92002-3763 |
ボルト
|
|
92004 |
92004-3733 |
**生産打切品**スタツド,8X56
|
|
92004A |
92004-3736 |
スタツド,8X40
|
|
92004B |
92004-3744 |
**生産打切品**スタツド,8X75
|
|
92005 |
92005-3714 |
フイテイング
|
|
92015 |
92015-1371 |
ナツト,キヤツプ,8MM
|
|
92015A |
92015-1649 |
ナツト
|
|
92022 |
92022-1964 |
ワツシヤ
|
|
92072 |
92072-3778 |
品番変更→92072-1239
|
|
92150 |
92150-3722 |
ボルト,8X16
|
|
551 |
551R0812 |
ノツク ピン
|
|
|