
|
見出番号 |
部品番号 |
部品名 |
数量 |
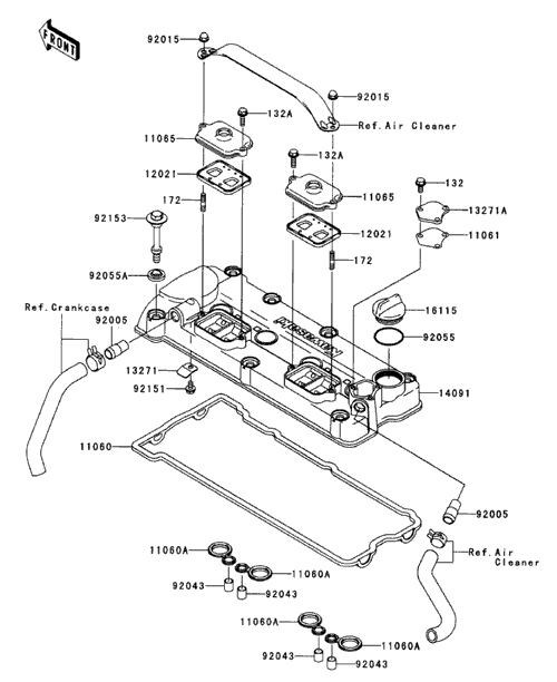
11060 |
11061-0090 |
ガスケツト
|
|
11060A |
11061-0105 |
ガスケツト,スパーク プラグ ホール
|
|
11061 |
11061-3728 |
【品番変更→11061-0814】ガスケツト,プレ-ト
|
|
11065 |
11065-3721 |
**生産打切品**キヤツプ,ASV
|
|
12021 |
12021-1119 |
バルブアツシ(リ-ド)
|
|
13271 |
13271-3851 |
プレ-ト
|
|
13271A |
13271-3878 |
**生産打切品**プレ-ト
|
|
14091 |
14091-3743 |
カバ-,ヘツド
|
|
16115 |
16115-1064 |
キヤツプ(オイルフイラ)
|
|
92005 |
92005-3741 |
フイテイング
|
|
92015 |
92015-1385 |
ナツト,キヤツプ,6MM
|
|
92043 |
92043-4009 |
ピン,10.1X12X14
|
|
92055 |
92055-1295 |
リング(0)
|
|
92055A |
92055-1352 |
リング(0),ヘツド カバ- ボルト
|
|
92151 |
92151-1822 |
ボルト,6X10
|
|
92153 |
92153-3706 |
**Web参照**ボルト,ヘツド カバ-
|
|
132 |
132BD0614 |
ボルト(コガタツバツキ),6X14
|
|
132A |
132BD0620 |
ボルト(コガタツバツキ),6X20
|
|
172 |
172R0618 |
**生産打切品**ウエコミ ボルト
|
|
|