純正パーツカタログよりご注文又はお見積
KAWASAKI JETSKI  1990年式  650SX JS650-A4 > フューエルポンプ

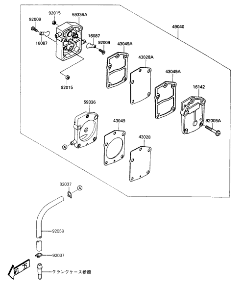
見出番号

部品番号

部品名

数量

16087

16087-3701

**生産打切品**バルブ(チエツク)

16142

16142-3702

**生産打切品**カバ-(ポンプ)

43028

43028-3702

**生産打切品**ダイアフラム

43028A

43028-3703

**生産打切品**ダイアフラム

43049

43049-3705

**生産打切品**パツキング

43049A

43049-3706

**生産打切品**パツキング

49040

49040-3706

**生産打切品**ポンプ(フユ-エル)

59336

59336-3704

**生産打切品**ケ-ス(ポンプ)

59336A

59336-3707

**生産打切品**ケ-ス(ポンプ)

92009

92009-3707

**生産打切品**スクリユ-

92009A

92009-3767

**生産打切品**スクリユ-

92015

92015-3731

【販売終了】ナツト

92037

92037-1173

クランプ,スパ-ク プラグ キヤツプ

92059

92059-3756

**生産打切品**チユ-ブ,5.8X500