純正パーツカタログよりご注文又はお見積
KAWASAKI JETSKI  1991年式  650SX JS650-B1  > エンジンカバー

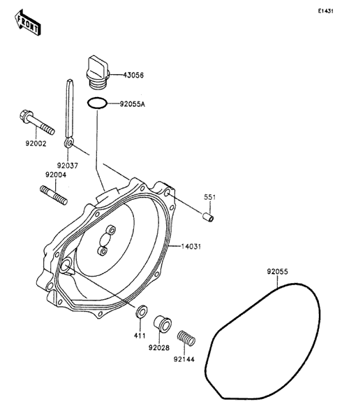
見出番号

部品番号

部品名

数量

14031

14031-3710

**生産打切品**カバ-(ゼネレ-タ)

43056

14069-3709

**生産打切品**ブリ-ザ

92002

92002-3726

ボルト,6X30

92004

92004-3710

**生産打切品**スタツド

92028

92028-3718

ブツシング

92037

92037-3736

クランプ,L=100

92055

92055-3712

リング(0)

92055A

92055-515

リング(0)

92144

92144-3728

スプリング

411

411S0500

ヒラザガネ(ミガキマル),5MM

551

551R0812

ノツク ピン