
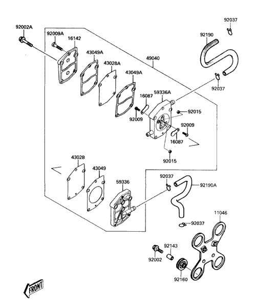
|
見出番号 |
部品番号 |
部品名 |
数量 |
11046 |
11046-3795 |
**生産打切品**ブラケツト
|
|
16087 |
16087-3701 |
**生産打切品**バルブ(チエツク)
|
|
16142 |
16142-3702 |
**生産打切品**カバ-(ポンプ)
|
|
43028 |
43028-3702 |
**生産打切品**ダイアフラム
|
|
43028A |
43028-3703 |
**生産打切品**ダイアフラム
|
|
43049 |
43049-3705 |
**生産打切品**パツキング
|
|
43049A |
43049-3706 |
**生産打切品**パツキング
|
|
49040 |
49040-3706 |
**生産打切品**ポンプ(フユ-エル)
|
|
59336 |
59336-3704 |
**生産打切品**ケ-ス(ポンプ)
|
|
59336A |
59336-3707 |
**生産打切品**ケ-ス(ポンプ)
|
|
92002 |
92002-3714 |
ボルト,6X25
|
|
92002A |
92002-3716 |
ボルト
|
|
92009 |
92009-3707 |
**生産打切品**スクリユ-
|
|
92009A |
92009-3767 |
**生産打切品**スクリユ-
|
|
92037 |
92037-1173 |
クランプ,スパ-ク プラグ キヤツプ
|
|
92143 |
92143-3715 |
**生産打切品**カラ-,6X8.5X13
|
|
92160 |
92160-3733 |
**生産打切品**ダンパ
|
|
92190 |
92059-3857 |
**生産打切品**チユ-ブ
|
|
92190A |
92059-3876 |
**生産打切品**チユ-ブ
|
|
|