純正パーツカタログよりご注文又はお見積
KAWASAKI JETSKI  2006年式  STX-12F JT1200D6F > シリンダヘッドカバー

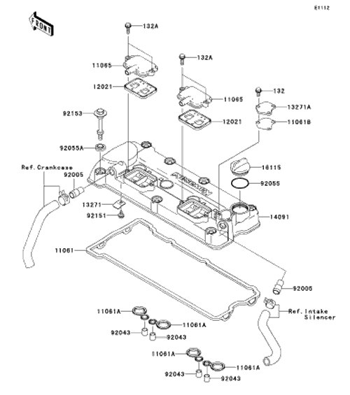
見出番号

部品番号

部品名

数量

11061

11061-0090

ガスケツト

11061A

11061-0105

ガスケツト,スパーク プラグ ホール

11061B

11061-3728

【品番変更→11061-0814】ガスケツト,プレ-ト

11065

11065-3723

キヤツプ,ASV

12021

12021-1119

バルブアツシ(リ-ド)

13271

13271-3851

プレ-ト

13271A

13271-3898

プレ-ト

14091

14091-3760

【品番変更→14091-3814】カバ-,ヘツド

16115

16115-1064

キヤツプ(オイルフイラ)

92005

92005-3741

フイテイング

92043

92043-4009

ピン,10.1X12X14

92055

92055-1295

リング(0)

92055A

92055-1352

リング(0),ヘツド カバ- ボルト

92151

92151-1822

ボルト,6X10

92153

92153-3706

**Web参照**ボルト,ヘツド カバ-

132

132BD0614

ボルト(コガタツバツキ),6X14

132A

132BD0620

ボルト(コガタツバツキ),6X20