
|
見出番号 |
部品番号 |
部品名 |
数量 |
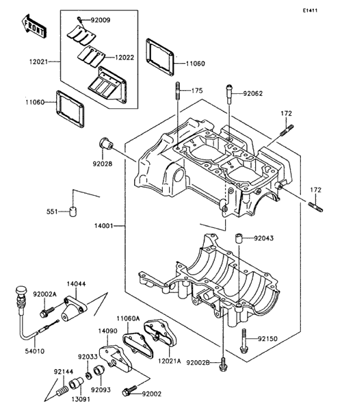
11060 |
11060-3703 |
**生産打切品**ガスケツト,リード バルブ
|
|
11060A |
11060-3723 |
ガスケツト,コントロ-ル バルブ
|
|
12021 |
12021-3704 |
**生産打切品**バルブアツシ(リ-ド)
|
|
12021A |
12021-3707 |
**生産打切品**バルブアツシ(リ-ド),コントロ-ル
|
|
12022 |
12022-1001 |
**生産打切品**バルブ(リ-ド)
|
|
13091 |
13091-3707 |
**生産打切品**ホルダ
|
|
14001 |
14001-5289 |
**生産打切品**セツト(クランクケ-ス),JF650-A6
|
|
14044 |
14044-3702 |
ホルダ(ケ-ブル)
|
|
14090 |
14090-3734 |
**生産打切品**カバ-,コントロ-ル バルブ
|
|
54010 |
54010-3708 |
**生産打切品**ケ-ブル,コントロ-ル バルブ
|
|
92002 |
92002-3714 |
ボルト,6X25
|
|
92002A |
92002-3717 |
**生産打切品**ボルト,6X45
|
|
92002B |
92002-3726 |
ボルト,6X30
|
|
92009 |
92009-1014 |
スクリユ-,リ-ド バルブ
|
|
92028 |
92028-3718 |
ブツシング
|
|
92033 |
92033-3708 |
**生産打切品**リング(スナツプ)
|
|
92043 |
92043-1037 |
ピン,10X14
|
|
92062 |
92062-3705 |
ノズル
|
|
92093 |
92093-3703 |
**生産打切品**シ-ル
|
|
92144 |
92144-3701 |
**生産打切品**スプリング
|
|
92150 |
92150-3708 |
ボルト,8X65
|
|
172 |
172R0620 |
ウエコミ ボルト
|
|
175 |
175R1035 |
ウエコミ ボルト(ホソメ)
|
|
551 |
551R0612 |
ノツク ピン
|
|
|