純正パーツカタログよりご注文又はお見積
KAWASAKI JETSKI  1989年式  650X-2 JF650-A4 > シリンダ/シリンダヘッド

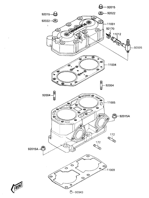
見出番号

部品番号

部品名

数量

11001

11001-3716

**生産打切品**ヘツド(シリンダ)

11004

11004-3710

ガスケツト(ヘツド)

11005

11005-3708

**生産打切品**シリンダ(エンジン)

11009

11009-3775

**生産打切品**ガスケツト,シリンダ ベ-ス

11012

11012-3744

**生産打切品**※※生産中止※※キヤツプ

92004

92004-3715

スタツド,8X43

92005

92005-3710

**生産打切品**フイテイング

92015

92015-1371

ナツト,キヤツプ,8MM

92015A

92015-1649

ナツト

92022

92022-1964

ワツシヤ

92043

92042-007

ドエル ピン,6.3X8X14

92170

92170-3714

クランプ

172

172R0830

ウエコミ ボルト