純正パーツカタログよりご注文又はお見積
KAWASAKI JETSKI  1990年式  650X-2 JF650-A5 > クランクシャフト/ピストン

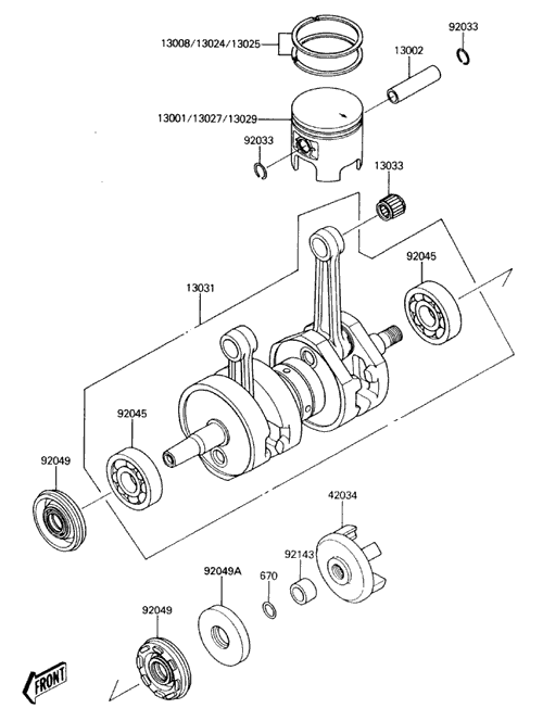
見出番号

部品番号

部品名

数量

13001

13001-3714

**生産打切品**ピストン(エンジン)

13002

13002-017

**生産打切品**ピン(ピストン)

13008

13008-3701

**生産打切品**リングセツト(ピストン),STD

13024

13024-3701

**生産打切品**リングセツト(ピストンエルエル),O/S,1.

13025

13025-3701

**生産打切品**リングセツト(ピストンエル),O/S,0.50

13027

13027-3709

**生産打切品**ピストン(エンジンエルエル),O/S 1.00

13029

13029-3709

**生産打切品**ピストン(エンジンエル),O/S 0.50

13031

13031-3720

**生産打切品**クランクシヤフトコンプ

13033

13033-1010

ベアリング,KBK18X22X23.8X

42034

42034-3705

カツプリング

92033

92036-015

サ-クリツプ,ピストン ピン

92045

92045-3709

**生産打切品**ベアリング(ボ-ル),6303C4

92049

92049-3705

**生産打切品**シ-ル(オイル),FWJ15307210

92049A

92049-3706

シ-ル(オイル),S30726

92143

92027-3713

**生産打切品**カラ-

670

670B2014

O リング(ウンドウヨウ),14MM