
|
見出番号 |
部品番号 |
部品名 |
数量 |
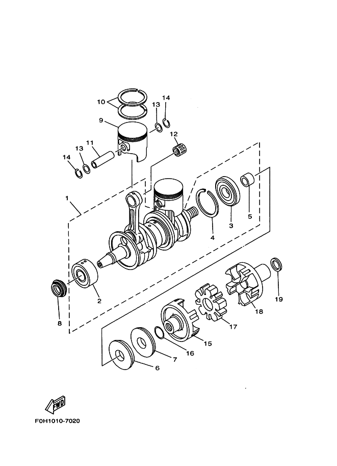
1 |
64X-11400-01 |
CRANKSHAFT ASSY
|
|
2 |
93305-30601 |
ベアリング
|
|
3 |
93306-307U3 |
ベアリング
|
|
4 |
93440-80023 |
サ-クリツプ
|
|
5 |
62T-45526-00 |
カラ-,ドライブシヤフト
|
|
6 |
93102-36M33 |
オイルシ-ル
|
|
7 |
93101-36M46 |
オイルシ-ル
|
|
8 |
93103-32M01 |
オイルシ-ル
|
|
9 |
64X-11631-00-91 |
PISTON (STD)
|
|
9 |
64X-11635-00 |
PISTON (025MM O/S) AP
|
|
9 |
64X-11636-00 |
PISTON (050MM O/S) AP
|
|
10 |
64X-11603-00 |
PISTON RING SET (STD)
|
|
10 |
64X-11604-00 |
PISTON RING SET (025MM O/S) AP
|
|
10 |
64X-11605-00 |
PISTON RING SET (050MM O/S) AP
|
|
11 |
62T-11633-00 |
PIN, PISTON
|
|
12 |
93310-320U2 |
ベアリング
|
|
13 |
90201-20M04 |
ワツシヤ,プレ-ト
|
|
14 |
93450-21053 |
サ-クリツプ
|
|
15 |
63M-45813-01-5B |
FLANGE, COUPLING
|
|
16 |
62T-45127-00 |
シール
|
|
17 |
63M-4581J-00 |
RUBBER SHAFT COUPLING
|
|
18 |
64X-45813-00-5B |
FLANGE, COUPLING
|
|
19 |
90201-24M02 |
ワツシヤ,プレ-ト
|
|
|