
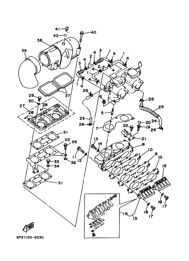
|
見出番号 |
部品番号 |
部品名 |
数量 |
1 |
64X-24313-00 |
PIPE 3
|
|
2 |
688-24378-00 |
PIPE, JOINT 4
|
|
3 |
90446-14M66 |
HOSE
|
|
4 |
90465-11M10 |
クランプ
|
|
5 |
90116-08M55 |
BOLT, STUD
|
|
6 |
90179-08M15 |
ナツト
|
|
7 |
64X-13556-00 |
GASKET, MANIFOLD
|
|
8 |
64X-13555-00-94 |
【販売終了】MANIFOLD, INTAKE
|
|
9 |
62T-13624-00 |
プレ-ト,リードバルブ
|
|
10 |
62T-13566-00 |
ガスケツト
|
|
11 |
97013-06035 |
ボルト
|
|
12 |
92903-06600 |
ワツシヤ,プレ-ト
|
|
13 |
97013-06025 |
ボルト
|
|
14 |
92903-06600 |
ワツシヤ,プレ-ト
|
|
15 |
64X-13610-01 |
REED VALVE ASSY
|
|
16 |
64X-W0004-01 |
【販売終了】REED SET
|
|
17 |
97880-05016 |
SCREW,PANHEAD
|
|
18 |
92990-05600 |
ワツシヤ,プレ-ト
|
|
19 |
61L-5169A-00 |
ニツプル,グリス
|
|
20 |
663-45119-00 |
キヤツプ,グリ-スニツプル
|
|
21 |
64X-14527-00 |
PLATE
|
|
22 |
97513-06516 |
BOLT, WITH WASHER
|
|
23 |
90445-10M88 |
HOSE (L190)
|
|
24 |
64X-24314-00 |
【販売終了】PIPE 4
|
|
25 |
90446-14M67 |
HOSE
|
|
26 |
90465-11M10 |
クランプ
|
|
27 |
64X-14284-00-4D |
COVER, CARBURETOR 2
|
|
28 |
6E5-11372-00 |
NIPPLE, HOSE
|
|
29 |
97013-06020 |
ボルト
|
|
30 |
92903-06600 |
ワツシヤ,プレ-ト
|
|
31 |
64X-13674-00 |
GASKET, AIR COOLER COVER 1
|
|
32 |
64X-14255-00 |
PLATE
|
|
33 |
97013-06012 |
ボルト
|
|
34 |
92903-06600 |
ワツシヤ,プレ-ト
|
|
35 |
90109-06M66 |
BOLT
|
|
36 |
90201-06M31 |
ワツシヤ,プレ-ト
|
|
37 |
62T-14451-00 |
エレメント,エアクリ-ナ
|
|
38 |
64X-14283-00 |
COVER, CARBURETOR 1
|
|
39 |
62T-14419-00 |
パイプ
|
|
40 |
90119-05M02 |
ボルト,ウイズワツシヤ
|
|
41 |
62T-14435-00 |
グロメツト
|
|
42 |
93210-13M63 |
O-リング
|
|
|