純正パーツカタログよりご注文又はお見積
YAMAHA MarineJet  1997年式  MJ-760GP F0H1 > キャブレター

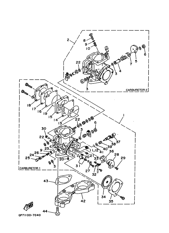
見出番号

部品番号

部品名

数量

1

65V-14301-00

CARBURETOR ASSY 1

2

65V-14302-00

CARBURETOR ASSY 2

3

6R7-14596-01

【販売終了】 WASHER

4

6K8-14534-10

COLLAR
CARBURETOR

5

6K8-14930-00

THROTTLE SHAFT ASSY
CARBURETOR

6

95380-08700

NUT

7

6K8-14926-10

BRACKET, THROTTLE 1
CARBURETOR

8

6M6-14521-00

SCREW, ADJUST
CARBURETOR

9

812-14235-00

ワツシヤ,ニ-ドル

10

47X-14133-00

スプリング,スロツトルストツプ
CARBURETOR

11

3G2-14231-26

ジエツト,メイン (#130)
CARBURETOR

12

3G2-1423A-77

JET, MAIN (#1325)
CARBURETOR

13

6K8-14564-00

O-リング

14

6K8-24411-20

ダイヤフラム

15

6M6-24413-00

BODY 2

16

6K8-24421-10

バルブ,チエツク

17

6K8-24431-20

ガスケツト,フユエルポンプ 1

18

6K8-24452-10

カバ-
CARBURETOR

19

6K8-14563-00

O-リング

20

6K8-14521-10

スクリュー

21

830-14231-23

JET, MAIN (#115)

22

6K8-14597-11

WASHER

23

812-14147-00

O-リング

24

6K8-14946-10

METERING NEEDLE

25

6K8-14471-10

キヤツプ,キヤブレタ

26

3KW-14932-00

スプリング,スロツトル 2

27

6K8-14527-11

プレ-ト

28

6R7-24412-01

BODY 1

29

6K8-14523-11

スクリユ,ストツプ

30

6R7-14569-00

ストレ-ナ

31

61X-14916-15

NEEDLE

32

6K8-14547-01

ア-ム,フロ-ト

33

6R7-14253-00

スプリング

34

6R7-14541-00

ダイヤフラム,ポンプ

35

6R7-14542-00

ボデ-,ポンプ 1

36

6K8-14536-11

ガスケツト

37

6K8-14481-10

CAP, CARBURETOR

38

6M6-14923-10

SCREW, PILOT

39

6K8-14589-00

スプリング

40

822-14235-00

ワツシヤ,ニ-ドル

41

583-14561-00

O-リング

42

64X-14243-00

PLATE

43

64X-14398-00

GASKET

44

64X-14162-00

【販売終了】BOLT, HOLDING