
|
見出番号 |
部品番号 |
部品名 |
数量 |
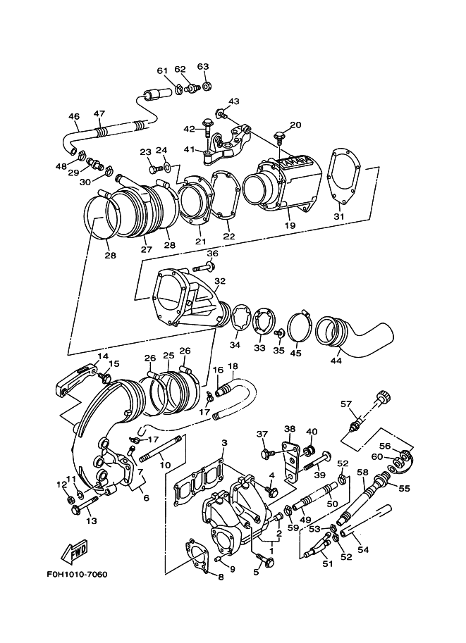
1 |
64X-14711-00-9M |
MUFFLER 1
|
|
2 |
6K8-51129-00 |
ニツプル
|
|
3 |
62T-14613-00 |
GASKET, EXHAUST PIPE
|
|
4 |
90105-10M60 |
BOLT, FLANGE
|
|
5 |
90105-10M72 |
BOLT, WASHER BASED
|
|
6 |
64X-14712-00-9M |
【販売終了】RING, JOINT
|
|
7 |
6K8-51129-00 |
ニツプル
|
|
8 |
64X-14749-00 |
GASKET, MUFFLER DAMPER 2
|
|
9 |
93605-12M21 |
PIN, DOWEL
|
|
10 |
90116-08M59 |
BOLT, STUD
|
|
11 |
92990-08100 |
ワツシヤ,スプリング
|
|
12 |
95380-08600 |
ナツト
|
|
13 |
90119-08M11 |
BOLT, WITH WASHER
|
|
14 |
64X-14781-00-94 |
【販売終了】STAY, MUFFLER 2
|
|
15 |
90105-10M73 |
【販売終了】BOLT, WASHER BASED
|
|
16 |
63M-12577-00 |
HOSE 2
|
|
17 |
90465-11M10 |
クランプ
|
|
18 |
90446-20M31 |
HOSE
|
|
19 |
64X-14721-00-94 |
MUFFLER 2
|
|
20 |
90105-10M60 |
BOLT, FLANGE
|
|
21 |
62T-41113-00-9M |
OUTER COVER, EXHAUST
|
|
22 |
62T-41114-01 |
GASKET, EXHAUST OUTER COVER
|
|
23 |
97013-06025 |
ボルト
|
|
24 |
92903-06600 |
ワツシヤ,プレ-ト
|
|
25 |
62T-14625-00 |
JOINT, EXHAUST 2
|
|
26 |
90450-99M06 |
HOSE CLAMP ASSY
|
|
27 |
64X-14615-00 |
JOINT, EXHAUST 1
|
|
28 |
90450-99M16 |
HOSE CLAMP ASSY
|
|
29 |
64X-12582-00 |
JOINT, HOSE 2
|
|
30 |
90450-22M14 |
HOSE CLAMP ASSY
|
|
31 |
64X-41124-00 |
GASKET, EXHAUST OUTER COVER
|
|
32 |
64X-41123-00-9M |
【販売終了】OUTER COVER, EXHAUST
|
|
33 |
64X-14763-00-94 |
SPACER
|
|
34 |
64X-14623-00 |
GASKET, EXHAUST PIPE
|
|
35 |
97985-06220 |
SCREW, WITH WASHER
|
|
36 |
90105-08M70 |
BOLT, WASHER BASED
|
|
37 |
90105-08M71 |
BOLT, WASHER BASED
|
|
38 |
64X-14717-01 |
【販売終了】PLATE, STOPPER
|
|
39 |
90119-08M37 |
BOLT, WITH WASHER
|
|
40 |
90480-20M05 |
GROMMET
|
|
41 |
62T-14771-00-94 |
STAY, MUFFLER 1
|
|
42 |
90119-10M72 |
BOLT, WITH WASHER
|
|
43 |
90105-10M45 |
BOLT, WASHER BASED
|
|
44 |
65V-14752-00 |
PIPE, OUTLET
|
|
45 |
90450-88M15 |
HOSE CLAMP ASSY
|
|
46 |
65V-12578-00 |
【販売終了】HOSE 3
|
|
47 |
90446-27M73 |
ホ-ス(L700)
|
|
48 |
90450-22M14 |
HOSE CLAMP ASSY
|
|
49 |
90445-14M06 |
HOSE (L630)
|
|
50 |
90446-20M31 |
HOSE
|
|
51 |
64X-12581-00 |
ジヨイント,ホ-ス 1
|
|
52 |
90450-14M05 |
ホ-スクランプアセンブリ
|
|
53 |
90450-18M09 |
ホ-スクランプアセンブリ
|
|
54 |
90445-14M10 |
HOSE (L500)
|
|
55 |
63M-12580-00 |
ジヨイントアセンブリ
|
|
56 |
682-84385-01 |
キヤツプ 1
|
|
57 |
63M-12590-10 |
CONDUCTION ASSY
|
|
58 |
90446-24M80 |
HOSE
|
|
59 |
90450-14M05 |
ホ-スクランプアセンブリ
|
|
60 |
EU0-61652-00 |
ロ-プホ-ルナツト
|
|
61 |
90601-20005 |
BAND
|
|
62 |
GP7-672A4-00 |
NUT,THRUHULL
|
|
63 |
90604-80797 |
【販売終了】THROUGH HULL
|
|
|