純正パーツカタログよりご注文又はお見積
YAMAHA MarineJet  2009年式  MJ-FX C SHO FX1800A-H/RED > シリンダ2

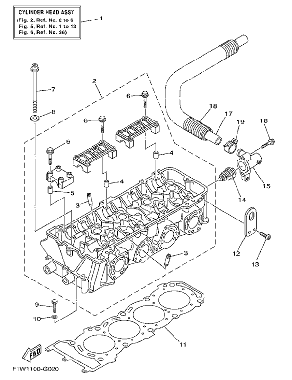
見出番号

部品番号

部品名

数量

1

6S5-W009A-00-94

シリンダヘツドコンプリート

2

6S5-11102-00-94

シリンダ ヘツド アセンブリ

3

6S5-11133-10

ガイド,バルブ1

4

91809-16001

ピン,ダウエル

5

91809-16001

ピン,ダウエル

6

90105-07009

ボルト,フランジ

7

6S5-12228-00

ボルト

8

90201-12039

ワツシヤ,プレ-ト

9

97013-06055

ボルト

10

92903-06600

ワツシヤ,プレ-ト

11

6S5-11181-00

ガスケツト,シリンダヘツド 1

12

6S5-11119-00

ハンガ,エンジン

13

92014-06012

BOLT, BUTTON HEAD

14

60E-12411-01

サ-モスタツト

15

6S5-12413-00-94

カバ-,サ-モスタツト

16

90105-06035

ボルト,フランジ

17

6S5-12578-00

ホ-ス3

18

90447-28008

チユーブ(L850)

19

90467-240A0

クリツプ