
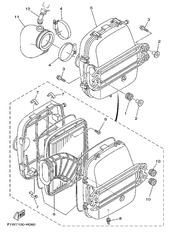
|
見出番号 |
部品番号 |
部品名 |
数量 |
1 |
90480-22M15 |
グロメツト
|
|
2 |
6D3-14495-00 |
カラ-
|
|
3 |
90119-08M22 |
ボルト,ウイズワツシヤ
|
|
4 |
90460-90M11 |
クランプ,ホ-ス
|
|
5 |
6S5-E4410-00 |
エアクリ-ナアセンブリ
|
|
6 |
6S5-E4451-00 |
エレメント,エアクリ-ナ
|
|
7 |
6S5-E4436-00 |
フツク
|
|
8 |
6S5-G2717-00 |
ラバ-,シ-ル2
|
|
9 |
97780-60516 |
スクリユ,タツピング
|
|
10 |
90480-22801 |
グロメツト
|
|
11 |
6S5-E4419-00 |
パイプ
|
|
12 |
6S5-R1142-00 |
コネクシオン
|
|
|