
|
見出番号 |
部品番号 |
部品名 |
数量 |
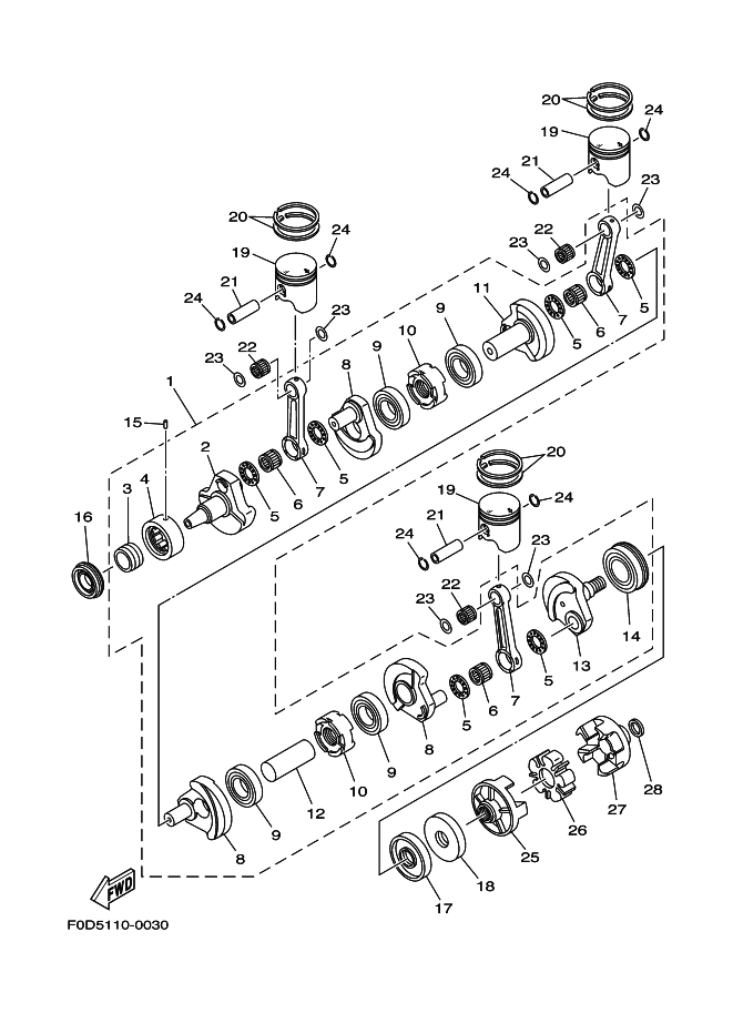
1 |
66V-11400-00 |
CRANKSHAFT ASSY
|
|
2 |
66E-11412-00 |
CRANK 1
|
|
3 |
90387-35M01 |
COLLAR
|
|
4 |
93390-000U6 |
BEARING
|
|
5 |
66E-11685-00 |
WASHER, CRANK PIN
|
|
6 |
93310-627U6 |
BEARING
|
|
7 |
66E-11651-00 |
ROD, CONNECTING
|
|
8 |
66E-11422-00 |
CRANK 2
|
|
9 |
93306-208U1 |
BEARING
|
|
10 |
66E-11515-00 |
SEAL, LABYRINTH 1
|
|
11 |
66V-11452-00 |
CRANK 5
|
|
12 |
66E-11431-00 |
CRANK 3
|
|
13 |
66E-11442-00 |
CRANK 4
|
|
14 |
93306-308U1 |
BEARING
|
|
15 |
93603-10049 |
ピン, ダウエル
|
|
16 |
93103-35011 |
オイル シ-ル
|
|
17 |
93101-34001 |
オイル シ-ル
|
|
18 |
93101-34002 |
オイル シ-ル
|
|
19 |
60T-11631-10-A0 |
ピストン (STD) UR_RED
|
|
19 |
60T-11631-10-B0 |
ピストン (STD) UR_ORANGE
|
|
19 |
60T-11631-10-C0 |
ピストン (STD) UR_GREEN
|
|
19 |
60T-11631-10-D0 |
ピストン (STD) UR_PURPLE
|
|
20 |
60T-11603-00 |
ピストンリングセツト (STD)
|
|
21 |
60T-11633-00 |
ピン,ピストン
|
|
22 |
93310-422U2 |
BEARING
|
|
23 |
90201-22M04 |
WASHER, PLATE
|
|
24 |
66E-11634-00 |
CLIP, PISTON PIN
|
|
25 |
66E-45813-10-94 |
FLANGE, COUPLING
|
|
26 |
66E-4581J-00 |
RUBBER SHAFT COUPLING
|
|
27 |
68N-45593-00-94 |
FLANGE, COUPLING 1
|
|
28 |
90201-248M5 |
ワツシヤ,プレ-ト
|
|
|