純正パーツカタログよりご注文又はお見積
KAWASAKI JETSKI  2001年式  900STS JT900-B3 > シリンダ/シリンダヘッド

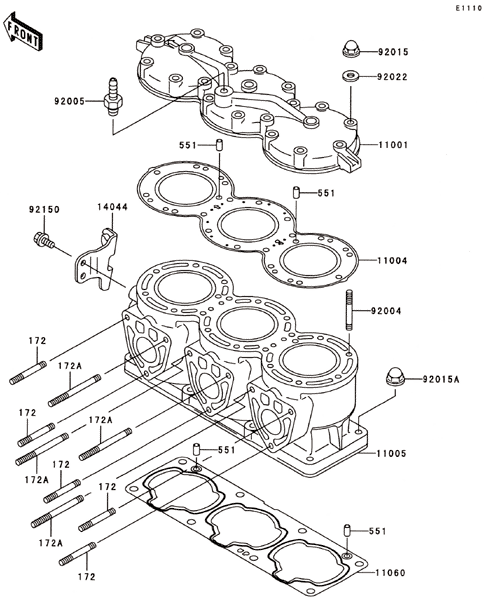
見出番号

部品番号

部品名

数量

11001

11001-3737

**生産打切品**ヘツド(シリンダ)

11004

11004-3713

**生産打切品**ガスケツト(ヘツド)

11005

11005-3750

**生産打切品**シリンダ(エンジン)

11060

11060-3752

ガスケツト,シリンダベース

14044

14044-3729

**生産打切品**ホルダ(ケ-ブル)

92004

92004-3715

スタツド,8X43

92005

92005-3714

フイテイング

92015

92015-1371

ナツト,キヤツプ,8MM

92015A

92015-1649

ナツト

92022

92022-1964

ワツシヤ

92150

92150-3722

ボルト,8X16

172

172R0830

ウエコミ ボルト

172A

172R0875

ウエコミ ボルト,8X75

551

551R0812

ノツク ピン