純正パーツカタログよりご注文又はお見積
YAMAHA MarineJet  2011年式  MJ-SUPERJET MJ-SJ700/WHITE > キャブレター

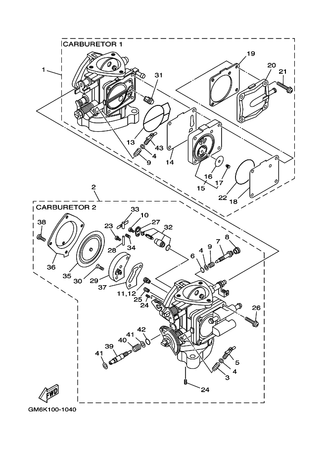
見出番号

部品番号

部品名

数量

1

64U-14301-03

キヤブレタアセンブリ 1

2

64U-14302-03

キヤブレタアセンブリ 2

3

47X-14133-00

スプリング,スロツトルストツプ

4

812-14235-00

ワツシヤ,ニ-ドル

5

6M6-14521-01

スクリユ,アジヤスト

6

812-14147-00

O-リング

7

63M-14946-00

プレ-ト,ニ-ドルフイツテイング

8

6K8-14471-10

キヤツプ,キヤブレタ

9

3KW-14932-00

スプリング,スロツトル 2

10

6M6-14503-00

スクリュー

11

3G2-14231-26

ジエツト,メイン (#130)

12

3G2-14231-26

ジエツト,メイン (#130)

13

6K8-14564-00

O-リング

14

6K8-24411-20

ダイヤフラム

15

6M6-24413-02

ボデ- 2

16

65U-24421-00

バルブ,チエツク

17

65U-24492-00

ブッシュ,フュエルポンプ

18

6K8-24421-10

バルブ,チエツク

19

6K8-24431-20

ガスケツト,フユエルポンプ 1

20

6K8-24452-10

カバ-

21

97980-05330

スクリユ,ウイズワツシヤ

22

6K8-14563-00

O-リング

23

6K8-14503-02

スクリュー

24

6K8-14521-10

スクリュー

25

830-14231-14

ジエツト,メイン (# 70)

26

98580-05018

スクリユ,パンヘツド

27

6K8-14527-11

プレ-ト

28

439-14186-00

ピン,フロ-ト

29

6R7-24412-02

ボデ- 1

30

6K8-14523-11

スクリユ,ストツプ

31

6R7-14569-00

ストレ-ナ

32

61X-14916-16

ニ-ドル

33

6K8-14547-01

ア-ム,フロ-ト

34

6R7-14253-00

スプリング

35

6R7-14541-00

ダイヤフラム,ポンプ

36

6R7-14542-00

ボデ-,ポンプ 1

37

6K8-14536-11

ガスケツト

38

97880-05012

スクリユ,パンヘツド

39

64U-14923-00

スクリユ,パイロツト

40

6K8-14589-00

スプリング

41

822-14235-00

ワツシヤ,ニ-ドル

42

583-14561-00

O-リング

43

6K8-14521-01

スクリユ,アジヤスト