
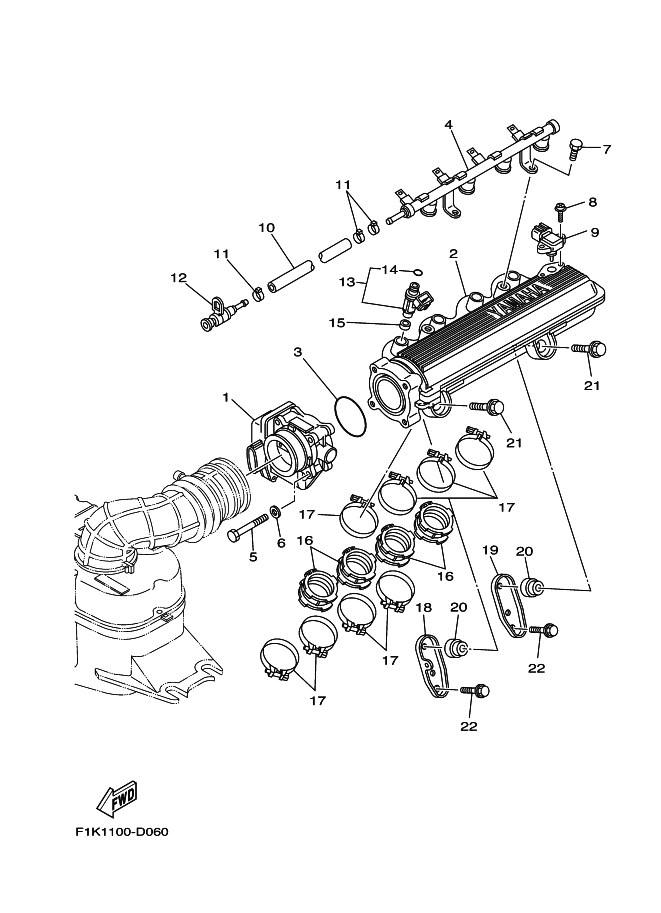
|
見出番号 |
部品番号 |
部品名 |
数量 |
1 |
6D3-13750-00 |
スロツトルボデ-アセンブリ
|
|
2 |
6D3-13641-00 |
マニホ-ルド 1
|
|
3 |
6D3-14457-00 |
シ-ル
|
|
4 |
6D3-12880-00 |
デリバリイパイプ
|
|
5 |
68V-13573-00 |
ボルト 1
|
|
6 |
68V-14475-00 |
ワツシヤ
|
|
7 |
63P-14446-00 |
ボルト
|
|
8 |
6D3-81147-00 |
スクリユ 3
|
|
9 |
68F-83688-00 |
センサアセンブリ
|
|
10 |
6D3-14294-00 |
ホ-ス
|
|
11 |
90450-17M17 |
HOSE CLAMP ASSY
|
|
12 |
60E-24300-01 |
フユエルパイプジヨイント
|
|
13 |
60E-13761-10 |
インジエクタアセンブリ
|
|
14 |
60E-14147-00 |
O-リング
|
|
15 |
90430-09002 |
GASKET
|
|
16 |
6D3-13795-01 |
ジヨイント, スロツトル ボデイ 1
|
|
17 |
90450-57006 |
ホ-スクランプアセンブリ
|
|
18 |
6D3-14413-00 |
ステ-
|
|
19 |
6D3-14414-00 |
ステ- 2
|
|
20 |
60E-14449-00-94 |
カラ-
|
|
21 |
90119-08050 |
BOLT, WITH WASHER
|
|
22 |
90119-08074 |
BOLT, WITH WASHER
|
|
|