純正パーツカタログよりご注文又はお見積
YAMAHA MarineJet  2008年式  MJ-VX VX1100-G/WHITE > オイルクーラー

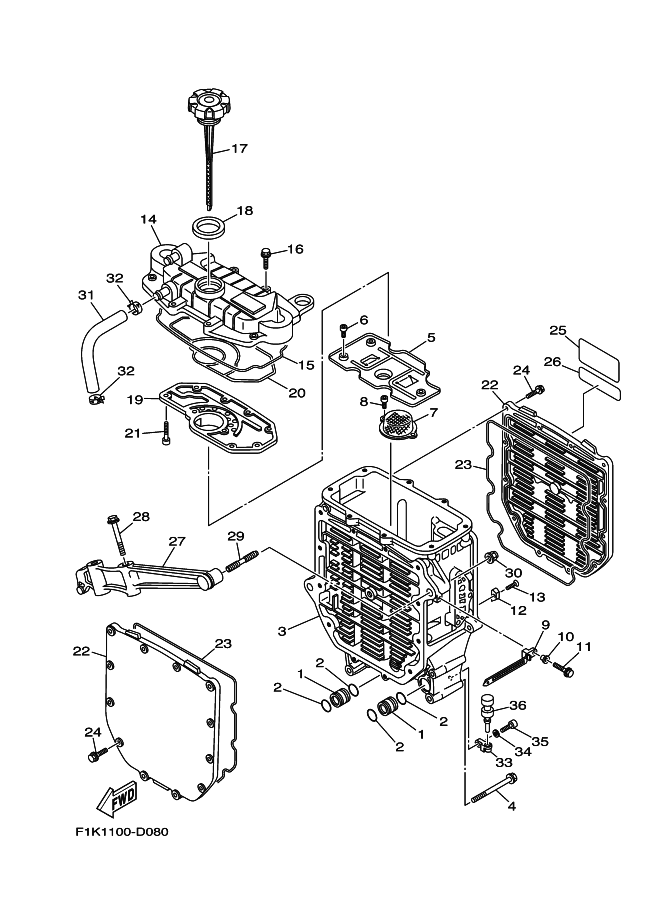
見出番号

部品番号

部品名

数量

1

60E-13446-00

コネクタ

2

93210-18322

O-リング

3

6D3-13462-00-94

ケ-ス,オイルク-ラ

4

90119-10020

ボルト,ウイズワツシヤ

5

6B6-13317-00

プレ-ト,バツフル

6

91317-05014

BOLT

7

60E-13421-00

STRAINER 2

8

91317-06014

ボルト,ヘキサゴンソケツトヘツド

9

90465-12M53

CLAMP

10

90387-06M05

カラ-

11

97595-06520

ボルト,ウイズワツシヤ

12

6E5-11325-00

アノ-ド

13

98780-04015

スクリユ,フラツトヘツド

14

6D3-13463-00-94

カバー, オイルクーラ

15

60E-13475-00

GASKET

16

90105-06036

BOLT, FLANGE

17

60E-15362-00

PLUG, OIL LEVEL

18

60E-13473-00

O-RING

19

6D3-11165-00

プレ-ト,ブリ-ザ

20

6D3-13477-00

ガスケツト

21

91317-05016

ボルト,ソケツト

22

6D3-13443-00-94

カバ-, オイル ク-ラ-

23

60E-13476-10

ガスケツト

24

90105-06M07

ボルト,フランジ

25

6B6-83623-00

マーク 3

26

60E-83627-00

ラベル,コ-シヨン7

27

6B6-13151-00-94

ステ-

28

90119-10M02

ボルト,ウイズワツシヤ

29

90116-10016

BOLT, STUD

30

90176-10001

ナツト,クラウン

31

6D3-11167-00

パイプ,ブリ-ザ 2

32

90467-170A0

CLIP

33

60E-51341-00-94

ブラケツト 1

34

92995-06600

ワツシヤ

35

91380-06020

ボルト

36

90480-06M46

グロメツト