純正パーツカタログよりご注文又はお見積
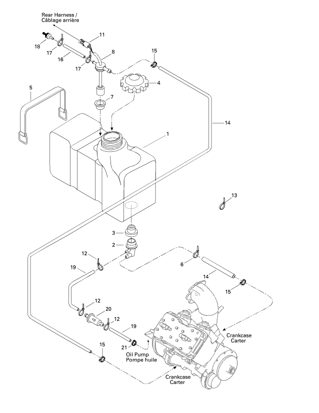
BRP SEA DOO  1997年式  XP 5662 > オイルインジェクションシステム

見出番号

部品番号

部品名

数量

1

275000210

TANK-OIL

2

293710051

FITTING-ELBOW

3

293720008

GROMMET

4

572039600

CAP

5

293850021

STRAP-RUBBER

6

294000606

TIE-RAP 180MM

7

204470104

GROMMET-OIL

8

204470106

SENSOR-OIL

9

278000218

SEAL-WIRE

10

278000222

TERMINAL-MALE

11

278000217

CONNECTOR_DELPHI MALE 2 CAVITIES

12

293750001

TIE-RAP 94MM

13

294000606

TIE-RAP 180MM

14

275000008

HOSE-12MM

15

293650038

HOSE CLAMP

16

275500139

HOSE-6MM.(4.572M/PAC)

17

293750002

TIE-RAP 130MM

18

275500087

VALVE-CHECK

19

275000007

HOSE-8MM.(10M/PAC)

20

275000051

FILTER-OIL

21

293650042

CLAMP-OETIKER