
|
見出番号 |
部品番号 |
部品名 |
数量 |
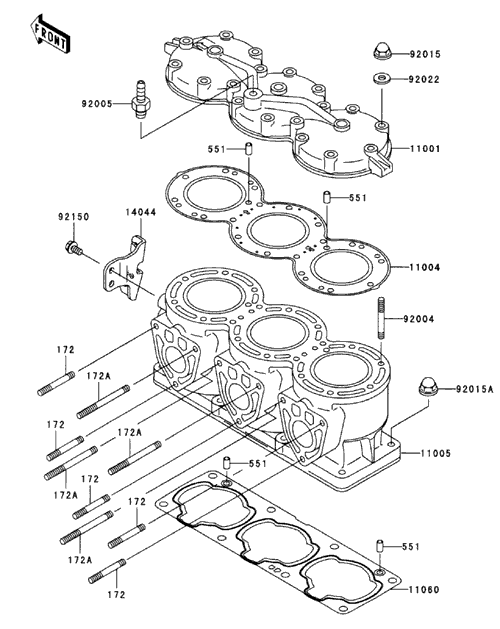
11001 |
11001-3737 |
**生産打切品**ヘツド(シリンダ)
|
|
11004 |
11004-3713 |
**生産打切品**ガスケツト(ヘツド)
|
|
11005 |
11005-3750 |
**生産打切品**シリンダ(エンジン)
|
|
11060 |
11060-3752 |
ガスケツト,シリンダベース
|
|
14044 |
14044-3747 |
**生産打切品**ホルダ(ケ-ブル)
|
|
92004 |
92004-3715 |
スタツド,8X43
|
|
92005 |
92005-3714 |
フイテイング
|
|
92015 |
92015-1371 |
ナツト,キヤツプ,8MM
|
|
92015A |
92015-1649 |
ナツト
|
|
92022 |
92022-1964 |
ワツシヤ
|
|
92150 |
92150-3722 |
ボルト,8X16
|
|
172 |
172R0830 |
ウエコミ ボルト
|
|
172A |
172R0875 |
ウエコミ ボルト,8X75
|
|
551 |
551R0812 |
ノツク ピン
|
|
|