純正パーツカタログよりご注文又はお見積
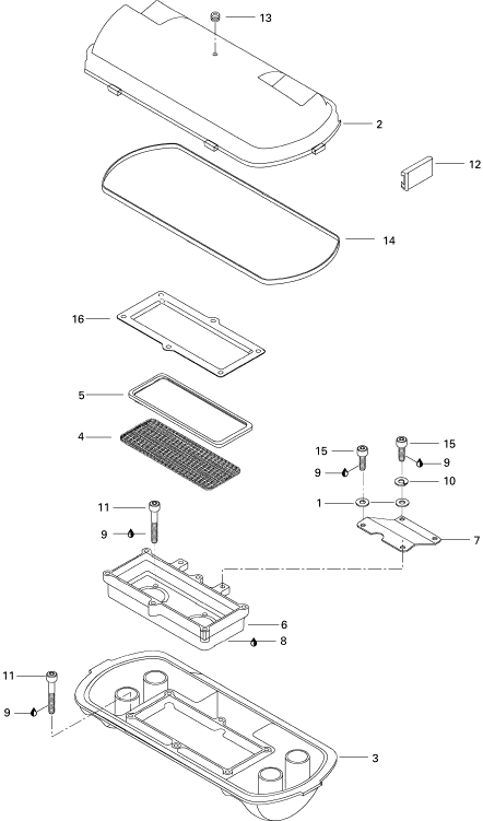
BRP SEA DOO  1996年式  GTX 5640 > エアーインテーク

見出番号

部品番号

部品名

数量

1

213200001

WASHER-FLAT DIN.125A-A2(M6)

2

273000065

COVER-SIL.AIR

3

273000074

BASE-SIL.AIR

4

273000077

ARREST-FLAME

5

273000020

INSULATOR

6

273000022190

**供給停止****供給停止****供給停止****供

7

270000140

SUPP-ARRESTER

8

293800038

LOCTITE-518

9

293800015

LOCTITE-242

10

217361500

WASHER-LOCK HELICAL DIN.127B-A

11

210100012

SCREW-SOCKET HD.DIN.912A2

12

273000006

CLIP-RETAINER

13

293830005

PLUG-RUBBER

14

293250023

GASKET

15

210100009

SCREW-SOCKET HD.DIN.912A2

16

273000059

HOLDER