純正パーツカタログよりご注文又はお見積
BRP SEA DOO  2002年式  XP 5577/5578 > エンジンサポート/マフラー

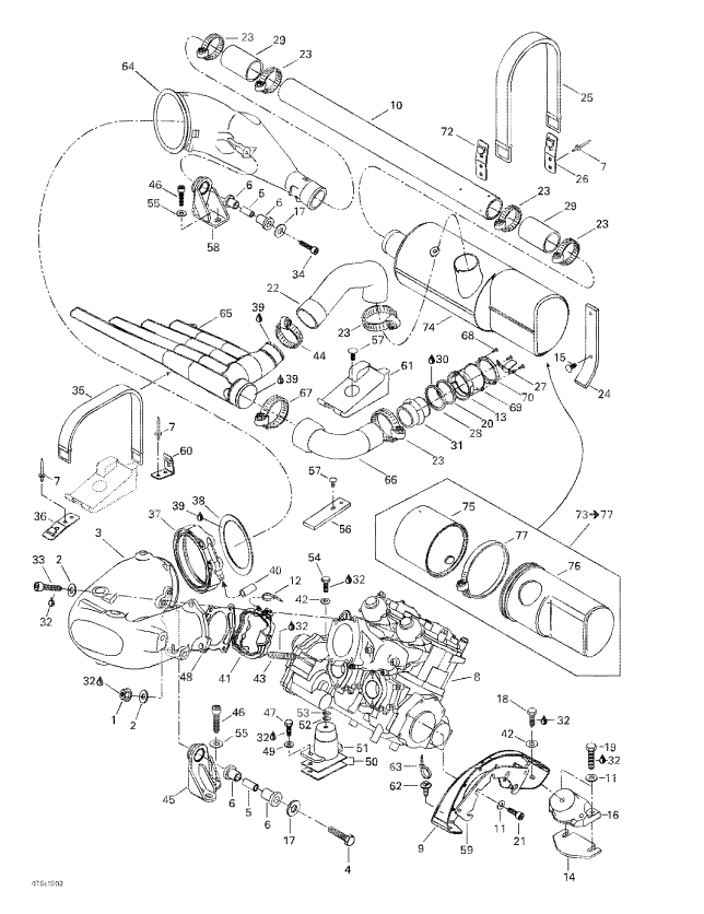
見出番号

部品番号

部品名

数量

1

233101600

NUT-FLANGE HEXAGONAL

2

211200051

WASHER-FLAT

3

274000927

PIPE-HEAD

4

245004060

SCREW-HEX.CAP-DIN.931A2 S.GRIP

5

274000861

BUSHING

6

293830065

BUSHING-RUBBER

7

293150037

RIVET-AVDEL 3/16

8

270000524

ENGINE-947

9

270000359

SUPPORT-ENGINE

10

274000948

TUBE-EXP.

11

234081600

WASHER-FLAT DIN.125A-A2

12

293750002

TIE-RAP 130MM

13

274000835

NUT-72MM

14

270000122

SHIM- 0-3MM

14

270000123

SHIM- 1-3MM
Shim

15

414644300

DART-WINDSHIELD

16

270000421

MOUNT-RUBBER

17

234002600

WASHER-FLAT DIN.9021B-A2

18

207181660

SCREW-HEX.CAP DIN.933A2

19

207184060

SCREW-HEX.CAP DIN.933A2

20

274000225

WASHER-STABILIZING

21

205582560

SCREW-SOCKET

22

274000783

HOSE-EXHAUST

23

293650064

CLAMP-TRIDON

24

293830089

PAD-RUBBER

25

293850026

STRAP-FUEL TANK

26

293850024

CLIP-STRAP

27

274000885

BRACKET

28

293250041

GASKET

29

274000896

HOSE-EXHAUST

30

296000309

SEAL-SILICONE

31

274000843

OUTLET-EXHAUST

32

293800060

LOCTITE-243

33

244003560

SCREW-SOCKET DIN.912A2 S.GRIP

34

244004060

SCREW-SOCKET DIN.912A2 S.GRIP

35

293850026

STRAP-FUEL TANK

36

293850024

CLIP-STRAP

37

274000510

CLAMP-EXHAUST

38

274000511

RING-SEALING

39

293800090

SEALANT

40

275000007

HOSE-8MM.(10M/PAC)

41

274000862

ENV-PICK UP

42

234082600

WASHER-FLAT DIN.9021B-A2

43

250300008

STUD-M10X55

44

293650107

CLAMP-TRIDON

45

274000890

SUPP-PIPE

46

244083060

SCREW-SOCKET DIN.912A2 S.GRIP

47

207184060

SCREW-HEX.CAP DIN.933A2

48

290931990

GASKET

49

234081600

WASHER-FLAT DIN.125A-A2

50

270000122

SHIM- 0-3MM

50

270000123

SHIM- 1-3MM
Shim

51

270000430

MOUNT-RUBBER PAINT

52

270000024

SHIM- 0-4MM

53

270000025

SHIM- 1-3MM

54

207182060

SCREW-HEX.CAP DIN.933A2

55

250200012

WASHER-FLAT M8.4

56

293830073

PAD RESONATOR

57

293730006

DART-BLACK

58

274000878

SUPP-PIPE

59

293250110

GASKET

60

293850069

CLIP-STRAP 90

61

292000628

PAD-FOAM

62

293730018

DART-MOUNT

63

414115200

TIE-RAP 180MM

64

274000658

CONE-EXHAUST

65

274000700

RESONATOR-LH.

66

274000784

HOSE-ADAPTER

67

204000079

CLAMP-TRIDON

68

241141660

SCREW-PT.HEX.FLANGE K40 X 16

69

293250107

GASKET

70

274000892

NUT-SUPPORT

71

274000885

BRACKET

72

293850024

CLIP-STRAP

73

274000810

MUFFLER

74

274000546


75

274000811

COVER-MUFFLER

76

274000812

COVER-MUFFLER

77

293750020

TIE-RAP 838MM