
|
見出番号 |
部品番号 |
部品名 |
数量 |
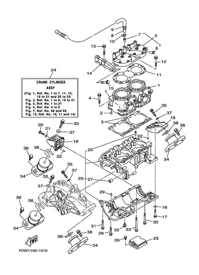
1 |
66E-11311-00-94 |
CYLINDER 1
|
|
2 |
93606-12019 |
ピン,ダウエル
|
|
3 |
66E-11351-01 |
GASKET, CYLINDER
|
|
4 |
90119-10M07 |
ボルト,ウイズワツシヤ
|
|
5 |
66E-11111-00-94 |
HEAD, CYLINDER 1
|
|
6 |
66E-51129-00 |
NIPPLE
|
|
7 |
6K8-51129-00 |
ニツプル
|
|
8 |
90445-14M33 |
ホ-ス (L1150)
|
|
9 |
90446-24M94 |
HOSE
|
|
10 |
90450-14M05 |
ホ-スクランプアセンブリ
|
|
11 |
66E-11181-00 |
GASKET, CYLINDER HEAD 1
|
|
12 |
90119-08MA1 |
BOLT, WITH WASHER
|
|
13 |
90119-08MA2 |
BOLT, WITH WASHER
|
|
14 |
66E-14781-10-94 |
STAY, MUFFLER 2
|
|
15 |
90119-10M00 |
ボルト,ウイズワツシヤ
|
|
16 |
66E-21425-10-8P |
BRACKET, REAR UPPER 1
|
|
17 |
97013-08045 |
BOLT
|
|
18 |
92903-08600 |
ワツシヤ,プレ-ト
|
|
19 |
66E-21426-10-8P |
BRACKET, REAR UPPER 2
|
|
20 |
97013-08030 |
ボルト
|
|
21 |
92903-08600 |
ワツシヤ,プレ-ト
|
|
22 |
93606-12019 |
ピン,ダウエル
|
|
23 |
67A-44532-00 |
STOPPER, UPPER MOUNT
|
|
24 |
66E-W0090-12-8P |
CRANK CYLINDER ASSY
|
|
25 |
66E-15100-10-8P |
CRANKCASE ASSY
|
|
26 |
62T-14251-10 |
ニツプル
|
|
27 |
90380-12M29 |
ブツシユ,ソリツド
|
|
28 |
90119-08M55 |
ボルト,ウイズワツシヤ
|
|
29 |
93606-12019 |
ピン,ダウエル
|
|
30 |
90119-06M78 |
BOLT, WITH WASHER
|
|
31 |
90119-08M61 |
BOLT, WITH WASHER
|
|
32 |
90119-06M13 |
BOLT, WITH WASHER
|
|
33 |
90119-08M56 |
BOLT, WITH WASHER
|
|
34 |
68A-44517-00-9M |
MOUNT RUBBER
|
|
35 |
90119-089UR |
BOLT, WITH WASHER
|
|
36 |
90119-089UN |
BOLT, WITH WASHER
|
|
37 |
90201-099U3 |
ワツシヤ,プレ-ト
|
|
38 |
EU0-U7354-00-01 |
シム(T=01) YMUS
|
|
36 |
90119-089UN |
BOLT, WITH WASHER YMUS
|
|
37 |
90201-099U3 |
ワツシヤ,プレ-ト YMUS
|
|
38 |
EU0-U7354-00-01 |
シム(T=01) UR,YMUS
|
|
38 |
EU0-U7354-00-03 |
シム(T=03) UR,YMUS
|
|
38 |
EU0-U7354-00-05 |
シム(T=05) UR,YMUS
|
|
38 |
EU0-U7354-00-10 |
シム(T=10)
|
|
38 |
EU0-U7354-00-20 |
シム(T=20)
|
|
39 |
90101-06917 |
BOLT
|
|
|