
|
見出番号 |
部品番号 |
部品名 |
数量 |
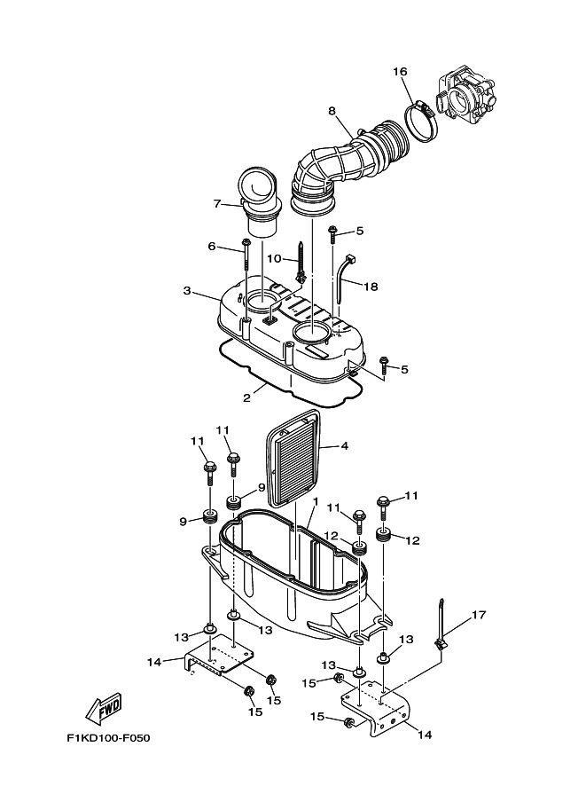
1 |
6D3-14411-00 |
ケ-ス,エアクリ-ナ 1
|
|
2 |
4XV-14452-00 |
シ-ル
|
|
3 |
6D3-14421-01 |
ケ-ス,エアクリ-ナ- 2
|
|
4 |
6D3-14451-00 |
エレメント,エアクリ-ナ
|
|
5 |
90159-05013 |
スクリユ,ウイズワツシヤ
|
|
6 |
90159-05014 |
スクリユ,ウイズワツシヤ
|
|
7 |
6D3-14437-00 |
ダクト
|
|
8 |
6D3-14419-00 |
パイプ
|
|
9 |
90480-22M15 |
グロメツト
|
|
10 |
90464-12089 |
クランプ
|
|
11 |
90119-08M22 |
ボルト,ウイズワツシヤ
|
|
12 |
90480-22M15 |
グロメツト
|
|
13 |
6D3-14495-00 |
カラ-
|
|
14 |
F1K-U8572-02 |
ブラケツト 2
|
|
15 |
9572R-08300 |
ナツト,フランジ
|
|
16 |
90601-175UR |
BAND, HOSE 75
|
|
17 |
90464-38800 |
クランプ
|
|
18 |
90464-40825 |
クランプ
|
|
|