
|
見出番号 |
部品番号 |
部品名 |
数量 |
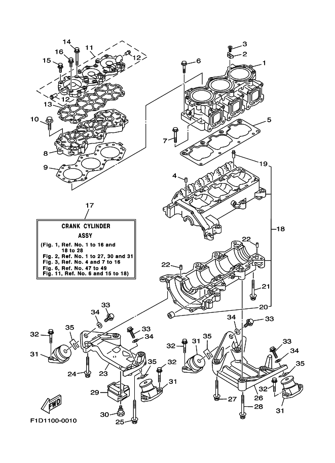
1 |
65U-11311-00-94 |
CYLINDER 1
|
|
2 |
6E5-11325-00 |
アノ-ド
|
|
3 |
98780-04015 |
スクリユ,フラツトヘツド
|
|
4 |
93606-12019 |
ピン,ダウエル
|
|
5 |
63M-11351-01 |
GASKET, CYLINDER
|
|
6 |
90119-10M56 |
ボルト,ウイズワツシヤ
|
|
7 |
90119-10M07 |
ボルト,ウイズワツシヤ
|
|
8 |
65U-11111-00-94 |
HEAD, CYLINDER 1
|
|
9 |
65U-11181-00 |
GASKET, CYLINDER HEAD 1
|
|
10 |
90119-08M96 |
ボルト,ウイズワツシヤ
|
|
11 |
63M-11191-00-94 |
COVER, CYLINDER HEAD 1
|
|
12 |
6K8-51129-00 |
ニツプル
|
|
13 |
63M-11193-00 |
GASKET, HEAD COVER 1
|
|
14 |
90119-08M95 |
BOLT, WITH WASHER
|
|
15 |
90119-08M97 |
BOLT, WITH WASHER
|
|
16 |
97513-06630 |
BOLT, WITH WASHER
|
|
17 |
65U-W0090-01-8P |
CRANK CYLINDER ASSY
|
|
18 |
65U-15100-00-8P |
CRANKCASE ASSY
|
|
19 |
62T-14251-10 |
ニツプル
|
|
20 |
90380-12M29 |
ブツシユ,ソリツド
|
|
21 |
90119-08M55 |
ボルト,ウイズワツシヤ
|
|
22 |
93606-12019 |
ピン,ダウエル
|
|
23 |
63M-21415-03-94 |
BRACKET, FRONT UPPER 1
|
|
24 |
90119-10M02 |
ボルト,ウイズワツシヤ
|
|
25 |
90119-10M17 |
ボルト,ウイズワツシヤ
|
|
26 |
63M-21425-01-94 |
BRACKET, REAR UPPER 1
|
|
27 |
90119-10M02 |
ボルト,ウイズワツシヤ
|
|
28 |
90119-10M03 |
ボルト,ウイズワツシヤ
|
|
29 |
66G-44532-00 |
【販売終了】STOPPER, UPPER MOUNT
|
|
30 |
90109-06M98 |
BOLT
|
|
31 |
63M-44517-01-5B |
MOUNT RUBBER
|
|
32 |
90119-08953 |
BOLT, WITH WASHER
|
|
33 |
90119-08904 |
ボルト,ウイズワツシヤ
|
|
34 |
EU0-67324-00 |
プレート
|
|
35 |
EU0-67354-00-01 |
SHIM (T=01) UN
|
|
35 |
EU0-67354-00-03 |
SHIM (T=03) UN
|
|
35 |
EU0-67354-00-05 |
SHIM (T=05) UN
|
|
35 |
EU0-67354-00-10 |
【販売終了】SHIM (T=10) UN
|
|
35 |
EU0-67354-00-20 |
SHIM (T=20) UN
|
|
|