
|
見出番号 |
部品番号 |
部品名 |
数量 |
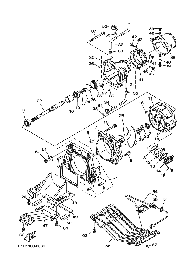
1 |
66G-G5831-00 |
PLATE, TRANSOM YMUS
|
|
2 |
66V-51367-10 |
FELT, PACKING
|
|
3 |
65A-R1129-00 |
NIPPLE YMUS
|
|
4 |
66G-51129-00 |
【販売終了】 NIPPLE
|
|
5 |
66V-51129-10 |
NIPPLE
|
|
6 |
66G-51129-10 |
【販売終了】 NIPPLE
|
|
7 |
66V-51312-00-94 |
HOUSING, IMPELLER
|
|
8 |
90119-06835 |
BOLT, WITH WASHER YMUS
|
|
9 |
99590-14016 |
ピン,ダウエル
|
|
10 |
90119-10836 |
BOLT, WITH WASHER YMUS
|
|
11 |
66V-51315-00-94 |
DUCT, IMPELLER
|
|
12 |
66V-46882-00 |
FILTER
|
|
13 |
66V-42414-00 |
O-リング
|
|
14 |
66V-45214-00-94 |
COVER, WATER INLET
|
|
15 |
90119-06800 |
BOLT, WITH WASHER YMUS
|
|
16 |
93606-12019 |
ピン,ダウエル
|
|
17 |
93306-205U0 |
ベアリング
|
|
18 |
65V-45538-00 |
SPACER 1
|
|
19 |
93306-304U1 |
ベアリング
|
|
20 |
93101-28M66 |
オイルシ-ル
|
|
21 |
93101-28M65 |
オイル シ-ル
|
|
22 |
66V-45511-00 |
SHAFT, DRIVE
|
|
23 |
9299R-16600 |
WASHER YMUS
|
|
24 |
9531P-16700 |
NUT YMUS
|
|
25 |
65A-R1326-00 |
CAP YMUS
|
|
26 |
93210-46M16 |
O-リング
|
|
27 |
90119-069UB |
BOLT, WITH WASHER YMUS
|
|
28 |
66G-R1321-00 |
IMPELLER YMUS
|
|
29 |
66V-R1348-00 |
SPACER YMUS
|
|
30 |
66V-51318-00-94 |
NOZZLE
|
|
31 |
63M-51334-00 |
NIPPLE,HOSE
|
|
32 |
90445-16M08 |
HOSE (L450)
|
|
33 |
90601-118UF |
バンド,ホース18 YMUS
|
|
34 |
90445-14898 |
HOSE (L270) YMUS
|
|
35 |
90465-11829 |
クランプ YMUS
|
|
36 |
93606-12019 |
ピン,ダウエル
|
|
37 |
90119-10837 |
BOLT, WITH WASHER YMUS
|
|
38 |
66V-R1313-01 |
NOZZLE,DEFLECTOR YMUS
|
|
39 |
90119-089UE |
BOLT, WITH WASHER YMUS
|
|
40 |
90387-08M06 |
カラ-
|
|
41 |
66G-51190-00-94 |
RING,TRIM
|
|
42 |
GH3-U146E-00 |
STUD, JOINT BALL YMUS
|
|
43 |
90201-068M4 |
ワツシヤ,プレ-ト YMUS
|
|
44 |
9538R-06700 |
ナツト YMUS
|
|
45 |
90119-089UE |
BOLT, WITH WASHER YMUS
|
|
46 |
90387-08M06 |
カラ-
|
|
47 |
66V-51333-00-94 |
SCREEN, INTAKE
|
|
48 |
66V-51311-00-94 |
DUCT, INTAKE
|
|
49 |
66V-51367-00 |
FELT, PACKING
|
|
50 |
66V-51368-00 |
FELT, PACKING
|
|
51 |
90480-279U1 |
GROMMET YMUS
|
|
52 |
90600-91728 |
クリツプ,ナイロン17
|
|
53 |
97780-50520 |
SCREW, TAPPING
|
|
54 |
GJ1-U8K31-02 |
SENSOR SPEED YMUS
|
|
55 |
EU0-67267-20 |
CONNECTOR, CABLE
|
|
56 |
EU0-62241-30 |
NUT, DRAIN 1
|
|
57 |
98780-05012 |
SCREW, FLAT HEAD
|
|
58 |
F0D-U273B-00 |
PLATE 2 YMUS
|
|
59 |
90119-08960 |
BOLT, WITH WASHER
|
|
60 |
95720-10300 |
ナツト,ナイロン
|
|
61 |
90201-10940 |
WASHER, PLATE
|
|
62 |
90119-08960 |
BOLT, WITH WASHER
|
|
63 |
90119-06929 |
BOLT, WITH WASHER
|
|
64 |
90119-06950 |
BOLT, WITH WASHER
|
|
|