
|
見出番号 |
部品番号 |
部品名 |
数量 |
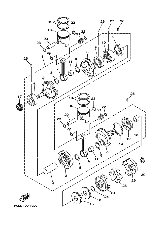
1 |
62T-11400-02 |
CRANKSHAFT ASSY
|
|
2 |
6M6-11412-00 |
クランク 1
|
|
3 |
6M6-11422-00 |
クランク 2
|
|
4 |
6M6-11431-00 |
CRANK 3
|
|
5 |
6M6-11442-01 |
クランク 4
|
|
6 |
93305-30601 |
ベアリング
|
|
7 |
62T-11651-00 |
ROD, CONNECTING
|
|
8 |
82M-11685-00 |
ワツシヤ,クランクピン
|
|
9 |
93306-207U2 |
ベアリング
|
|
10 |
82M-11515-00 |
SEAL, LABYRINTH 1
|
|
11 |
93310-525U3 |
BEARING
|
|
12 |
93306-307U3 |
ベアリング
|
|
13 |
62T-45526-00 |
カラ-,ドライブシヤフト
|
|
14 |
93440-80023 |
サ-クリツプ
|
|
15 |
93102-36M33 |
オイルシ-ル
|
|
16 |
93101-36M46 |
オイルシ-ル
|
|
17 |
93103-32M01 |
オイルシ-ル
|
|
18 |
62T-11631-02-92 |
PISTON (STD)
|
|
18 |
62T-11635-02 |
PISTON (025MM O/S) AP
|
|
18 |
62T-11636-02 |
PISTON (050MM O/S) AP
|
|
19 |
61X-11603-01 |
ピストンリングセツト (STD)
|
|
19 |
61X-11604-01 |
ピストンリングセツト (025MM O/S) AP
|
|
19 |
61X-11605-01 |
ピストンリングセツト (050MM O/S) AP
|
|
20 |
62T-11633-00 |
PIN, PISTON
|
|
21 |
93310-320U2 |
ベアリング
|
|
22 |
90201-20M04 |
ワツシヤ,プレ-ト
|
|
23 |
93450-21053 |
サ-クリツプ
|
|
24 |
6M6-45813-32-8P |
フランジ,カツプリング
|
|
25 |
62T-45127-00 |
シール
|
|
26 |
93603-10049 |
ピン, ダウエル
|
|
27 |
93604-07141 |
ピン,ダウエル
|
|
28 |
61X-4581J-00 |
ラバ-シヤフトカツプリング
|
|
29 |
6M6-45813-22-8P |
フランジ,カツプリング
|
|
30 |
90201-248M5 |
ワツシヤ,プレ-ト YMUS
|
|
|