純正パーツカタログよりご注文又はお見積
YAMAHA MarineJet  2001年式  XL MJ-XL800/WHITE > クランクシャフト&ピストン

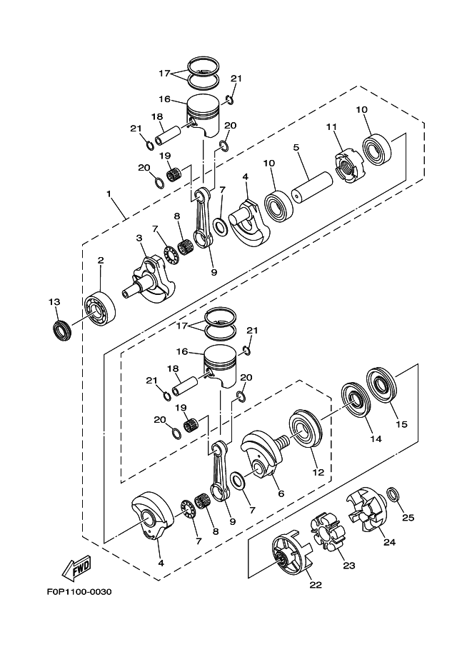
見出番号

部品番号

部品名

数量

1

66E-11400-00

CRANKSHAFT ASSY

2

93305-307U0

BEARING

3

66E-11412-00

CRANK 1

4

66E-11422-00

CRANK 2

5

66E-11431-00

CRANK 3

6

66E-11442-00

CRANK 4

7

66E-11685-00

WASHER, CRANK PIN

8

93310-627U6

BEARING

9

66E-11651-00

ROD, CONNECTING

10

93306-208U1

BEARING

11

66E-11515-00

SEAL, LABYRINTH 1

12

93306-308U1

BEARING

13

93103-35M03

オイル シ-ル

14

93101-36M62

オイル シ-ル

15

93101-36M61

オイル シ-ル

16

66E-11631-00-A0

PISTON (STD)
UR-RED

16

66E-11631-00-B0

PISTON (STD)
UR-ORANGE

16

66E-11631-00-C0

PISTON (STD)
UR-GREEN

16

66E-11631-00-D0

PISTON (STD)
UR-PURPLE

17

66E-11603-01

PISTON RING SET (STD)

18

66E-11633-00

PIN, PISTON

19

93310-422U2

BEARING

20

90201-22M04

WASHER, PLATE

21

66E-11634-00

CLIP, PISTON PIN

22

66E-45813-10-94

FLANGE, COUPLING

23

66E-4581J-00

RUBBER SHAFT COUPLING

24

66E-45813-10-94

FLANGE, COUPLING

25

90201-278T0

WASHER, PLATE
YMUS