純正パーツカタログよりご注文又はお見積
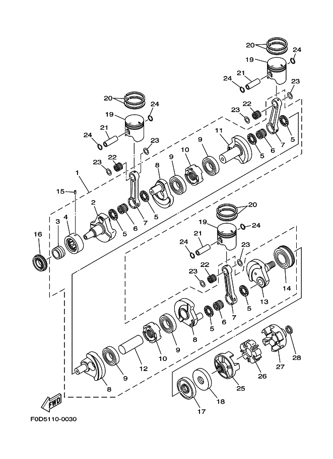
YAMAHA MarineJet  2002年式  MJ-XLT1200/WHITE > クランクシャフト&ピストン

見出番号

部品番号

部品名

数量

1

66V-11400-00

CRANKSHAFT ASSY

2

66E-11412-00

CRANK 1

3

90387-35M01

COLLAR

4

93390-000U6

BEARING

5

66E-11685-00

WASHER, CRANK PIN

6

93310-627U6

BEARING

7

66E-11651-00

ROD, CONNECTING

8

66E-11422-00

CRANK 2

9

93306-208U1

BEARING

10

66E-11515-00

SEAL, LABYRINTH 1

11

66V-11452-00

CRANK 5

12

66E-11431-00

CRANK 3

13

66E-11442-00

CRANK 4

14

93306-308U1

BEARING

15

93603-10049

ピン, ダウエル

16

93102-35M57

オイル シ-ル

17

93101-36M62

オイル シ-ル

18

93101-36M61

オイル シ-ル

19

66V-11631-00-A0

PISTON (STD)
UR-RED

19

66V-11631-00-B0

PISTON (STD)
UR-ORANGE

19

66V-11631-00-C0

PISTON (STD)
UR-GREEN

19

66V-11631-00-D0

PISTON (STD)
UR-PURPLE

20

66V-11603-00

PISTON RING SET (STD)

21

66E-11633-00

PIN, PISTON

22

93310-422U2

BEARING

23

90201-22M04

WASHER, PLATE

24

66E-11634-00

CLIP, PISTON PIN

25

66E-45813-10-94

FLANGE, COUPLING

26

66E-4581J-00

RUBBER SHAFT COUPLING

27

68N-45593-00-94

FLANGE, COUPLING 1

28

90201-248M5

ワツシヤ,プレ-ト
YMUS