純正パーツカタログよりご注文又はお見積
YAMAHA MarineJet  2005年式  VX MJ-VX110 SPORT/WHITE > インテーク 2

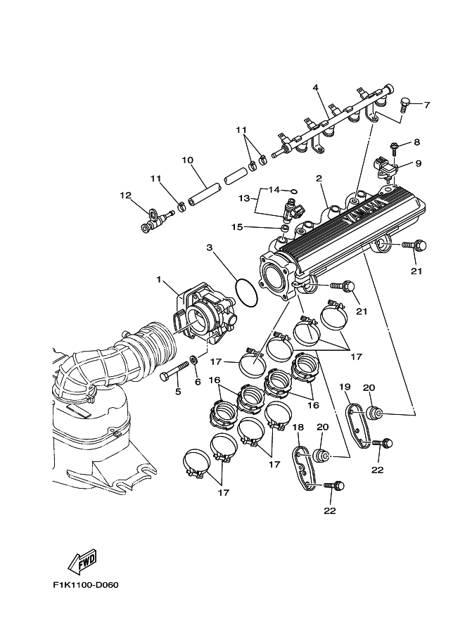
見出番号

部品番号

部品名

数量

1

6D3-13750-00

スロツトルボデ-アセンブリ

2

6D3-13641-00

マニホ-ルド 1

3

6D3-14457-00

シ-ル

4

6D3-12880-00

デリバリイパイプ

5

68V-13573-00

ボルト 1

6

68V-14475-00

ワツシヤ

7

63P-14446-00

ボルト

8

68V-81147-00

SCREW 3

9

68F-83688-00

センサアセンブリ

10

6D3-14294-00

ホ-ス

11

90450-17M17

HOSE CLAMP ASSY

12

60E-24300-01

フユエルパイプジヨイント

13

60E-13761-10

インジエクタアセンブリ

14

60E-14147-00

O-リング

15

90430-09002

GASKET

16

6D3-13795-01

ジヨイント, スロツトル ボデイ 1

17

90450-57006

ホ-スクランプアセンブリ

18

6D3-14413-00

ステ-

19

6D3-14414-00

ステ- 2

20

60E-14449-00

カラ-

21

90119-08050

BOLT, WITH WASHER

22

90119-08074

BOLT, WITH WASHER