純正パーツカタログよりご注文又はお見積
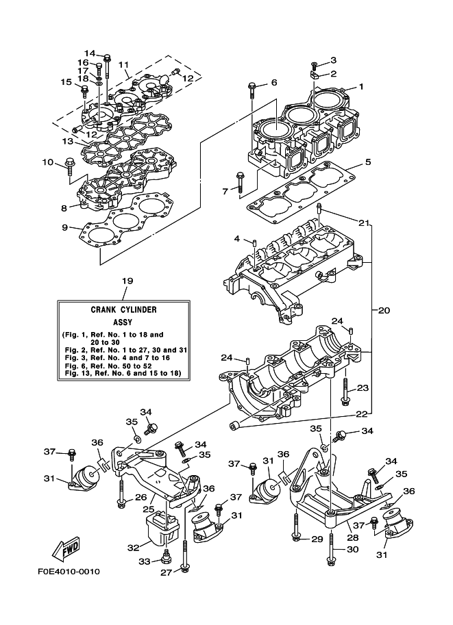
YAMAHA MarineJet  2000年式  エキサイター1430SPO EXC1200B/WHITE > シリンダー クランクケース

見出番号

部品番号

部品名

数量

1

65U-11311-00-94

CYLINDER 1

2

6E5-11325-00

アノ-ド

3

98780-04015

スクリユ,フラツトヘツド

4

93606-12019

ピン,ダウエル

5

63M-11351-01

GASKET, CYLINDER

6

90119-10M56

ボルト,ウイズワツシヤ

7

90119-10M07

ボルト,ウイズワツシヤ

8

65U-11111-00-94

HEAD, CYLINDER 1

9

65U-11181-00

GASKET, CYLINDER HEAD 1

10

90119-08M96

ボルト,ウイズワツシヤ

11

63M-11191-00-94

COVER, CYLINDER HEAD 1

12

6K8-51129-00

ニツプル

13

63M-11193-00

GASKET, HEAD COVER 1

14

90119-08M95

BOLT, WITH WASHER

15

90119-08M97

BOLT, WITH WASHER

16

97013-06030

BOLT

17

92903-06100

WASHER, SPRING

18

92903-06600

ワツシヤ,プレ-ト

19

66U-W0090-01-8P

CRANK CYLINDER ASSY

20

65U-15100-00-94

CRANKCASE ASSY

21

62T-14251-10

ニツプル

22

90380-12M29

ブツシユ,ソリツド

23

90119-08M55

ボルト,ウイズワツシヤ

24

93606-12019

ピン,ダウエル

25

63M-21415-03-94

BRACKET, FRONT UPPER 1

26

90119-10M02

ボルト,ウイズワツシヤ

27

90119-10M17

ボルト,ウイズワツシヤ

28

63M-21425-01-94

BRACKET, REAR UPPER 1

29

90119-10M02

ボルト,ウイズワツシヤ

30

90119-10M03

ボルト,ウイズワツシヤ

31

6M6-44517-A1-5B

MOUNT RUBBER

32

65U-44532-00

STOPPER, UPPER MOUNT

33

90109-06M30

BOLT

34

90119-08904

ボルト,ウイズワツシヤ

35

EU0-67324-00

プレート

36

EU0-67354-00-01

SHIM (T=01)
UN

36

EU0-67354-00-03

SHIM (T=03)
UN

36

EU0-67354-00-05

SHIM (T=05)
UN

36

EU0-67354-00-10

【販売終了】SHIM (T=10)
UN

36

EU0-67354-00-20

SHIM (T=20)
UN

37

90119-08932

ボルト,ウイズワツシヤ