
|
見出番号 |
部品番号 |
部品名 |
数量 |
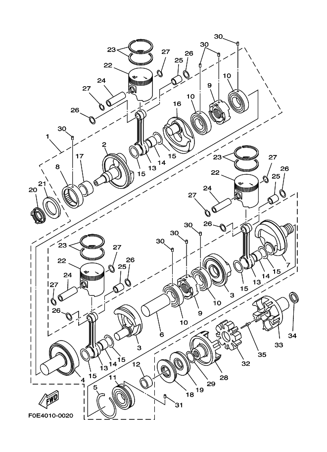
1 |
65U-11400-00 |
CRANKSHAFT ASSY
|
|
2 |
6M6-11412-00 |
クランク 1
|
|
3 |
6M6-11422-00 |
クランク 2
|
|
4 |
63M-11452-00 |
CRANK 5
|
|
5 |
93440-80023 |
サ-クリツプ
|
|
6 |
6M6-11431-10 |
クランク 3
|
|
7 |
6M6-11442-01 |
クランク 4
|
|
8 |
93390-000U4 |
BEARING
|
|
9 |
65U-11515-00 |
シ-ル,ラビリンス 1
|
|
10 |
93306-207U2 |
ベアリング
|
|
11 |
93306-307U3 |
ベアリング
|
|
12 |
62T-45526-00 |
カラ-,ドライブシヤフト
|
|
13 |
64X-11651-01 |
ロツド,コネクテイング
|
|
14 |
93310-525U4 |
BEARING
|
|
15 |
82M-11685-00 |
ワツシヤ,クランクピン
|
|
16 |
65U-11422-00 |
CRANK 2
|
|
17 |
90387-32M02 |
COLLAR
|
|
18 |
93102-36M33 |
オイルシ-ル
|
|
19 |
93101-36M46 |
オイルシ-ル
|
|
20 |
93103-32M01 |
オイルシ-ル
|
|
21 |
65U-11445-00 |
SPACER
|
|
22 |
65U-11631-01-90 |
PISTON (STD)
|
|
22 |
65U-11635-00 |
PISTON (025MM O/S) AP
|
|
22 |
65U-11636-00 |
PISTON (050MM O/S) AP
|
|
23 |
65U-11603-00 |
PISTON RING SET (STD)
|
|
23 |
65U-11604-00 |
※供給終了※PISTON RING SET (025MM O/S) AP
|
|
23 |
65U-11605-00 |
【販売終了】PISTON RING SET (050MM O/S) AP
|
|
24 |
62T-11633-00 |
PIN, PISTON
|
|
25 |
93310-320U2 |
ベアリング
|
|
26 |
90201-20M04 |
ワツシヤ,プレ-ト
|
|
27 |
93450-21053 |
サ-クリツプ
|
|
28 |
63M-45813-01-8P |
FLANGE, COUPLING
|
|
29 |
62T-45127-00 |
シール
|
|
30 |
93603-10049 |
ピン, ダウエル
|
|
31 |
93604-07141 |
ピン,ダウエル
|
|
32 |
63M-4581J-00 |
RUBBER SHAFT COUPLING
|
|
33 |
64T-45813-01-5B |
FLANGE, COUPLING
|
|
34 |
90201-24M02 |
ワツシヤ,プレ-ト
|
|
35 |
90267-48957 |
RIVET, BLIND
|
|
|