純正パーツカタログよりご注文又はお見積
YAMAHA MarineJet  2000年式  エキサイター1430SPO EXC1200B/WHITE > エキゾースト 1

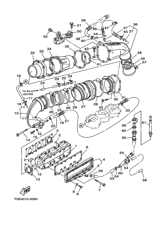
見出番号

部品番号

部品名

数量

1

63M-14711-00-94

MUFFLER 1

2

93605-12M21

PIN, DOWEL

3

65U-14613-00

GASKET, EXHAUST PIPE

4

63M-14718-00-9P

PROTECTOR, MUFFLER 1

5

63M-51129-00

NIPPLE

6

63M-14739-00

GASKET, MUFFLER DAMPER 1

7

90119-08M98

BOLT, WITH WASHER

8

97095-06030

BOLT

9

92995-06600

ワツシヤ

10

63M-14712-00-9P

RING, JOINT

11

6K8-51129-00

ニツプル

12

93605-12M21

PIN, DOWEL

13

63M-14749-00

GASKET, MUFFLER DAMPER 2

14

90119-08M02

BOLT, WITH WASHER

15

97013-08030

ボルト

16

92903-08600

ワツシヤ,プレ-ト

17

63M-12576-00

HOSE 1

18

90450-14M05

ホ-スクランプアセンブリ

19

63M-12577-00

HOSE 2

20

90450-14M05

ホ-スクランプアセンブリ

21

90446-20M53

HOSE

22

6R3-24377-00

PIPE, JOINT 3

23

90445-14M34

HOSE (L1700)

24

90465-11M10

クランプ

25

62T-14625-00

JOINT, EXHAUST 2

26

90450-99M06

HOSE CLAMP ASSY

27

63M-14615-00

JOINT, EXHAUST 1

28

90450-99M16

HOSE CLAMP ASSY

29

90450-99M02

HOSE CLAMP ASSY

30

63M-41113-00-94

OUTER COVER, EXHAUST

31

63M-41114-00

GASKET, EXHAUST OUTER COVER

32

63M-14721-00-94

MUFFLER 2

33

63M-41122-00

GASKET, EXHAUST INNER COVER

34

63M-41121-00-94

INNER COVER,EXHAUST

35

63M-41114-00

GASKET, EXHAUST OUTER COVER

36

63M-41123-00-94

OUTER COVER, EXHAUST

37

6K8-51129-00

ニツプル

38

64X-12578-01

HOSE 3

39

90446-27M55

チユーブ(L400)

40

90450-22M14

HOSE CLAMP ASSY

41

63M-15761-00

SEAL, RUBBER 1

42

90105-08M66

BOLT, FLANGE

43

90105-10M60

BOLT, FLANGE

44

90445-14M05

ホ-ス (L240)

45

90465-11M10

クランプ

46

90446-20M39

HOSE

47

90465-13M24

CLAMP

48

63M-41138-00

SEAL, EXT 1

49

63M-14680-00

STOPPER

50

63M-14771-00-94

STAY, MUFFLER 1

51

90119-10M17

ボルト,ウイズワツシヤ

52

90105-10M88

ボルト,フランジ

53

90445-18M04

HOSE (L450)

54

90450-18M09

ホ-スクランプアセンブリ

55

65B-12580-00

JOINT ASSY

56

682-84385-01

キヤツプ 1

57

90450-99M02

HOSE CLAMP ASSY

58

90445-18M05

HOSE (L500)

59

90450-18M09

ホ-スクランプアセンブリ

60

63M-12581-00

JOINT, HOSE 1

61

63M-12590-10

CONDUCTION ASSY

62

EU0-61652-00

ロ-プホ-ルナツト