純正パーツカタログよりご注文又はお見積
YAMAHA MarineJet  2001年式  エキサイター1430SPO EXC1200C/WHITE > クランクシャフト ピストン

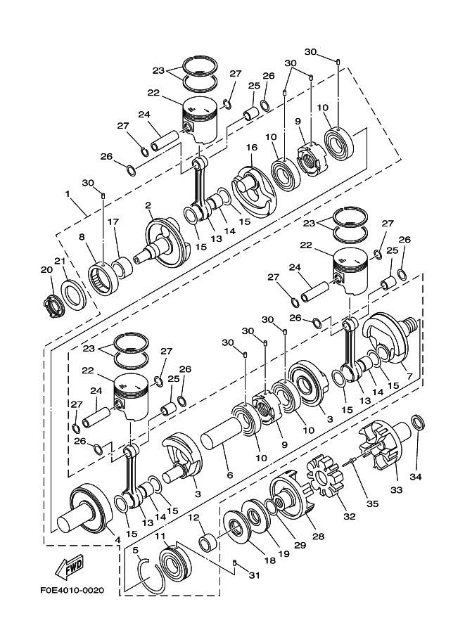
見出番号

部品番号

部品名

数量

1

65U-11400-00

CRANKSHAFT ASSY

2

6M6-11412-00

クランク 1

3

6M6-11422-00

クランク 2

4

63M-11452-00

CRANK 5

5

93440-80023

サ-クリツプ

6

6M6-11431-10

クランク 3

7

6M6-11442-01

クランク 4

8

93390-000U4

BEARING

9

65U-11515-00

シ-ル,ラビリンス 1

10

93306-207U2

ベアリング

11

93306-307U3

ベアリング

12

62T-45526-00

カラ-,ドライブシヤフト

13

64X-11651-01

ロツド,コネクテイング

14

93310-525U4

BEARING

15

82M-11685-00

ワツシヤ,クランクピン

16

65U-11422-00

CRANK 2

17

90387-32M02

COLLAR

18

93102-36M33

オイルシ-ル

19

93101-36M46

オイルシ-ル

20

93103-32M01

オイルシ-ル

21

65U-11445-00

SPACER

22

65U-11631-01-90

PISTON (STD)

22

65U-11635-01

PISTON (025MM O/S)
AP

22

65U-11636-01

PISTON (050MM O/S)
AP

23

65U-11603-01

PISTON RING SET (STD)

23

65U-11604-01

PISTON RING SET (025MM O/S)
AP

23

65U-11605-01

PISTON RING SET (050MM O/S)
AP

24

62T-11633-00

PIN, PISTON

25

93310-320U2

ベアリング

26

90201-20M04

ワツシヤ,プレ-ト

27

93450-21053

サ-クリツプ

28

63M-45813-01-8P

FLANGE, COUPLING

29

62T-45127-00

シール

30

93603-10049

ピン, ダウエル

31

93604-07141

ピン,ダウエル

32

63M-4581J-00

RUBBER SHAFT COUPLING

33

64T-45813-01-5B

FLANGE, COUPLING

34

90201-24M02

ワツシヤ,プレ-ト

35

90267-48957

RIVET, BLIND