純正パーツカタログよりご注文又はお見積
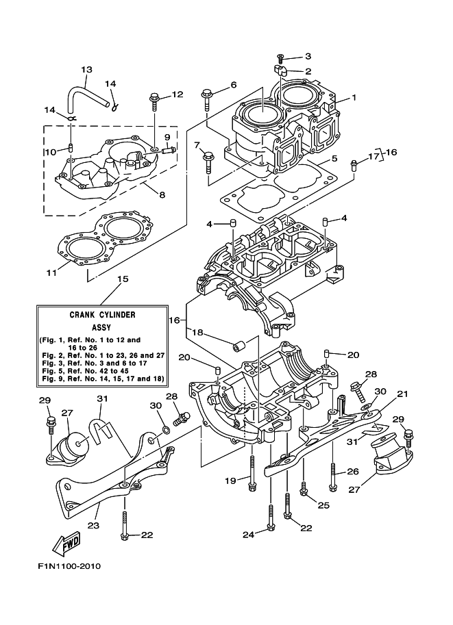
YAMAHA MarineJet  2002年式  SJ MJ-SJ700/WHITE > シリンダー&クランクケース

見出番号

部品番号

部品名

数量

1

61X-11311-01-94

シリンダ 1

2

6E5-11325-00

アノ-ド

3

98780-04015

スクリユ,フラツトヘツド

4

93606-12019

ピン,ダウエル

5

6M6-11351-A2

ガスケツト,シリンダ

6

90119-10M56

ボルト,ウイズワツシヤ

7

90119-10M07

ボルト,ウイズワツシヤ

8

64U-11111-00-94

HEAD, CYLINDER 1

9

6K8-51129-00

ニツプル

10

6R7-14485-00

パイプ,ジヨイント

11

62T-11181-00

GASKET, CYLINDER HEAD 1

12

90119-08M96

ボルト,ウイズワツシヤ

13

90445-07M19

ホ-ス (L200)

14

90467-06016

クリツプ

15

64V-W0090-02-8P

クランクシリンダアセンブリ

16

62T-15100-00-94

クランクケ-スアセンブリ

17

62T-14251-10

ニツプル

18

90380-12M29

ブツシユ,ソリツド

19

90119-08M55

ボルト,ウイズワツシヤ

20

93606-12019

ピン,ダウエル

21

6R7-21415-01-94

ブラケツト,フロントアツパ 1

22

90119-10M02

ボルト,ウイズワツシヤ

23

6R7-21425-01-94

ブラケツト,リヤアツパ 1

24

90119-10M01

ボルト,ウイズワツシヤ

25

90119-10M00

ボルト,ウイズワツシヤ

26

90119-10M03

ボルト,ウイズワツシヤ

27

6R7-44517-00-9M

MOUNT RUBBER

28

90119-08904

ボルト,ウイズワツシヤ

29

90119-08038

ボルト,ウイズワツシヤ

30

EU0-67324-00

プレート

31

EU0-67354-00-01

SHIM (T=01)

31

EU0-67354-00-03

SHIM (T=03)

31

EU0-67354-00-05

SHIM (T=05)

31

EU0-67354-00-10

【販売終了】SHIM (T=10)

31

EU0-67354-00-20

SHIM (T=20)