純正パーツカタログよりご注文又はお見積
YAMAHA MarineJet  2010年式  MJ-FZS GX1800A-J/BLUE > クランクケース

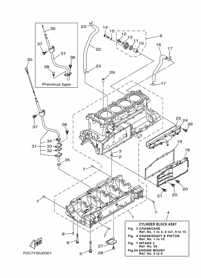
見出番号

部品番号

部品名

数量

1

6S5-15100-01-94

クランクケ-スアセンブリ

2

99530-10114

ピン,ダウエル

3

93210-11453

O-リング

4

6S5-W009B-00-94

シリンダブロツクアセンブリ

5

90105-10071

ボルト,フランジ

6

95814-06070

ボルト,フランジ

7

93606-12019

ピン,ダウエル

8

93604-10M03

ピン,ダウエル

9

69J-11301-10

アノードカバーアセンブリ

10

68V-11325-02

アノ-ド

11

67F-11328-00

グロメツト

12

90105-06M07

ボルト,フランジ

13

90430-06M03

ガスケツト

14

97095-08040

ボルト

15

92995-08600

ワツシヤ

16

6S5-11377-00

ホ-ス

17

90467-190A0

クリツプ

18

6S5-1131M-00-9S

カバ-

19

6S5-13557-00

ガスケツト

20

95024-06014

ボルト,フランジ(スモールヘツド)

21

95024-06020

ボルト,フランジ(スモールヘツド)

22

6S5-11126-00

パイプ,ブリ-ザ 3

23

90467-190A0

クリツプ

24

6S5-12469-01-94

ジヨイント 1

25

6S5-12517-01

ガスケツト, ウオータインレツト

26

95023-06025

ボルト,フランジ (46X)

27

6S5-13337-00

プレ-ト,バツフルロワ

28

90110-06182

ボルト,ヘキサゴンソケツトヘツド

29

99530-10114

ピン,ダウエル

30

6S5-15362-00

プラグ,オイルレベル

31

6S5-8572F-01

パイプ, オイルレベル

31

6S5-8572F-10

パイプ, オイルレベル
F2C-804601〜

32

6BH-1319K-00

プレ-ト
F2C-804601〜

33

6BH-85516-00

スペ-サ
F2C-804601〜

34

90467-150A1

クリツプ
F2C-804601〜

35

93210-12790

O-リング(3LD)

36

90109-06268

ボルト
F2C-804601〜

36

95880-06014

ボルト,フランジ

37

95023-06012

ボルト,フランジ

38

90338-06012

【価格未定】PLUG