
|
見出番号 |
部品番号 |
部品名 |
数量 |
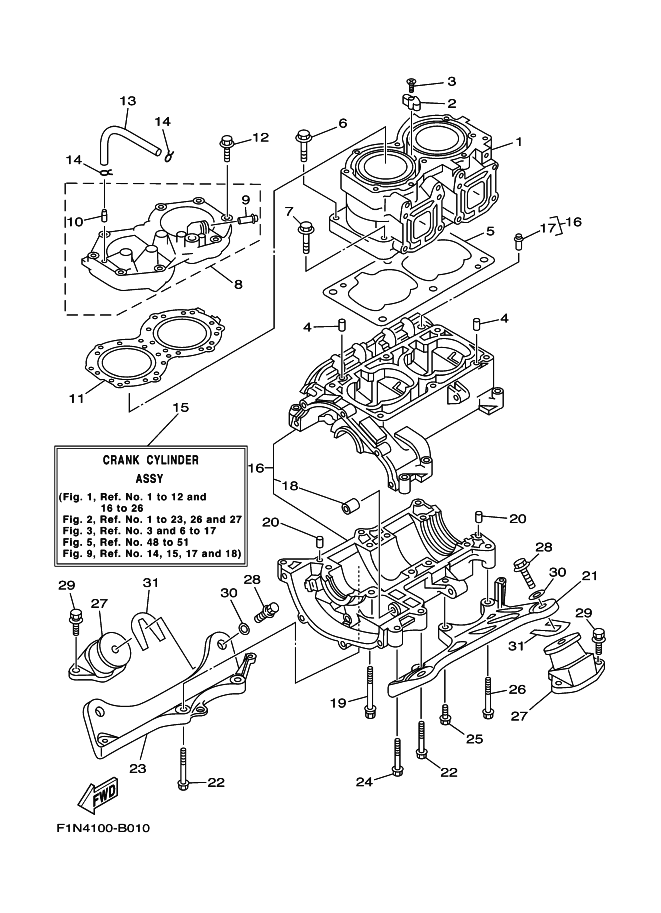
1 |
61X-11311-01-94 |
シリンダ 1
|
|
2 |
6E5-11325-00 |
アノ-ド
|
|
3 |
98780-04015 |
スクリユ,フラツトヘツド
|
|
4 |
93606-12019 |
ピン,ダウエル
|
|
5 |
6M6-11351-A2 |
ガスケツト,シリンダ
|
|
6 |
90119-10M56 |
ボルト,ウイズワツシヤ
|
|
7 |
90119-10M07 |
ボルト,ウイズワツシヤ
|
|
8 |
64U-11111-00-94 |
HEAD, CYLINDER 1
|
|
9 |
6K8-51129-00 |
ニツプル
|
|
10 |
6R7-14485-00 |
パイプ,ジヨイント
|
|
11 |
62T-11181-00 |
GASKET, CYLINDER HEAD 1
|
|
12 |
90119-08M96 |
ボルト,ウイズワツシヤ
|
|
13 |
90445-07M19 |
ホ-ス (L200)
|
|
14 |
90467-06016 |
クリツプ
|
|
15 |
64V-W0090-02-8P |
クランクシリンダアセンブリ
|
|
16 |
62T-15100-00-94 |
クランクケ-スアセンブリ
|
|
17 |
62T-14251-10 |
ニツプル
|
|
18 |
90380-12M29 |
ブツシユ,ソリツド
|
|
19 |
90119-08M55 |
ボルト,ウイズワツシヤ
|
|
20 |
93606-12019 |
ピン,ダウエル
|
|
21 |
6R7-21415-01-94 |
ブラケツト,フロントアツパ 1
|
|
22 |
90119-10M02 |
ボルト,ウイズワツシヤ
|
|
23 |
6R7-21425-01-94 |
ブラケツト,リヤアツパ 1
|
|
24 |
90119-10M01 |
ボルト,ウイズワツシヤ
|
|
25 |
90119-10M00 |
ボルト,ウイズワツシヤ
|
|
26 |
90119-10M03 |
ボルト,ウイズワツシヤ
|
|
27 |
6R7-44517-00-9M |
MOUNT RUBBER
|
|
28 |
90119-08904 |
ボルト,ウイズワツシヤ
|
|
29 |
90119-08038 |
ボルト,ウイズワツシヤ
|
|
30 |
EU0-67324-00 |
プレート
|
|
31 |
EU0-67354-00-01 |
SHIM (T=01)
|
|
31 |
EU0-67354-00-03 |
SHIM (T=03)
|
|
31 |
EU0-67354-00-05 |
SHIM (T=05)
|
|
31 |
EU0-67354-00-10 |
【販売終了】SHIM (T=10)
|
|
31 |
EU0-67354-00-20 |
SHIM (T=20)
|
|
|