純正パーツカタログよりご注文又はお見積
YAMAHA MarineJet  2010年式  MJ-FX CRUISER FY1800A-J/GY > インテーク1

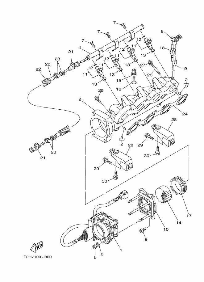
見出番号

部品番号

部品名

数量

1

6BH-13750-00

THROTTLE BODY ASSY

2

6BH-13641-01

マニホ-ルド 1

3

93604-10011

ピン,ダウエル(603)

4

6S5-12880-00

デリバリイパイプ

5

6P2-13588-00

NUT

6

6P2-13578-00

WASHER

7

63P-14446-00

ボルト

8

6BH-82380-00

センサ-,プレツシヤ-

9

6S5-14496-00

BOLT

10

6BH-14360-00

スロツトルダンパアセンブリ

11

6S5-13761-00

インジエクタアセンブリ

12

60E-14147-00

O-リング

13

8FP-13556-00

ガスケツト,マニホ-ルド

14

6BH-1444B-00

リボン

15

65L-85886-00

サ-モセンサ-

16

6S5-14285-00

ワツシヤ

17

6BH-14457-00

シ-ル

18

6BH-14445-00

グロメツト

19

6BH-13532-00

ホース,バキユームセンシング3

20

6S5-14294-02

ホ-ス

21

6S5-24300-01

FUEL PIPE JOINT

22

90447-19016

TUBE (L480)

23

90450-17M17

HOSE CLAMP ASSY

24

6BH-13645-00

ガスケツト,マニホ-ルド 1

25

90119-08022

ボルト,ウイズワツシヤ

26

90116-08032

ボルト,スタツド

27

90176-08080

ナツト,クラウン

28

6S5-14413-00-94

ステ-

29

90119-08043

BOLT, WITH WASHER

30

90119-08099

BOLT, WITH WASHER