
|
見出番号 |
部品番号 |
部品名 |
数量 |
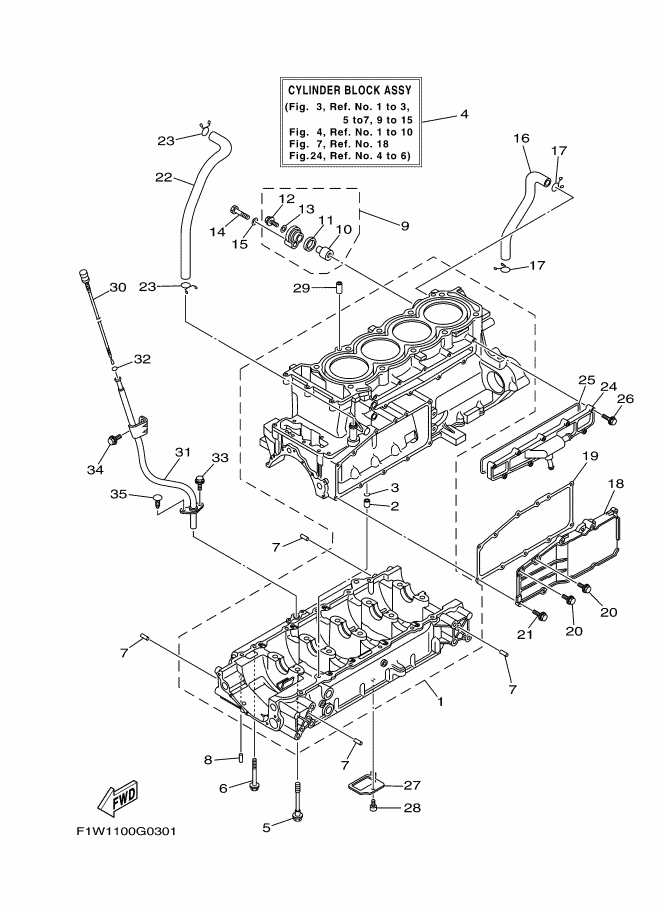
1 |
6S5-15100-00-94 |
クランクケ-スアセンブリ
|
|
2 |
99530-10114 |
ピン,ダウエル
|
|
3 |
93210-11453 |
O-リング
|
|
4 |
6S5-W009B-00-94 |
シリンダブロツクアセンブリ
|
|
5 |
90105-10071 |
ボルト,フランジ
|
|
6 |
95814-06070 |
ボルト,フランジ
|
|
7 |
93606-12019 |
ピン,ダウエル
|
|
8 |
93604-10M03 |
ピン,ダウエル
|
|
9 |
69J-11301-10 |
アノードカバーアセンブリ
|
|
10 |
68V-11325-02 |
アノ-ド
|
|
11 |
67F-11328-00 |
グロメツト
|
|
12 |
90105-06M07 |
ボルト,フランジ
|
|
13 |
90430-06M03 |
ガスケツト
|
|
14 |
97095-08040 |
ボルト
|
|
15 |
92995-08600 |
ワツシヤ
|
|
16 |
6S5-11377-00 |
ホ-ス
|
|
17 |
90467-190A0 |
クリツプ
|
|
18 |
6S5-1131M-00-94 |
カバ-
|
|
19 |
6S5-13557-00 |
ガスケツト
|
|
20 |
95024-06014 |
ボルト,フランジ(スモールヘツド)
|
|
21 |
95024-06020 |
ボルト,フランジ(スモールヘツド)
|
|
22 |
6S5-11126-00 |
パイプ,ブリ-ザ 3
|
|
23 |
90467-190A0 |
クリツプ
|
|
24 |
6S5-12469-00-94 |
ジヨイント 1
|
|
25 |
6S5-12517-00 |
ガスケツト, ウオータインレツト
|
|
26 |
95023-06025 |
ボルト,フランジ (46X)
|
|
27 |
6S5-13337-00 |
プレ-ト,バツフルロワ
|
|
28 |
90110-06182 |
ボルト,ヘキサゴンソケツトヘツド
|
|
29 |
99530-10114 |
ピン,ダウエル
|
|
30 |
6S5-15362-00 |
プラグ,オイルレベル
|
|
31 |
6S5-8572F-00 |
パイプ, オイルレベル
|
|
32 |
93210-12790 |
O-リング(3LD)
|
|
33 |
95880-06014 |
ボルト,フランジ
|
|
34 |
95023-06012 |
ボルト,フランジ
|
|
35 |
90338-05M03 |
プラグ(6H1)
|
|
|