純正パーツカタログよりご注文又はお見積
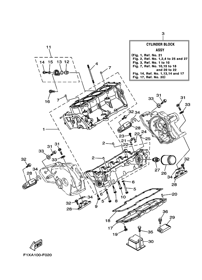
YAMAHA MarineJet  2007年式  MJ-FX CRUISER HO/BLACK B > クランクケース

見出番号

部品番号

部品名

数量

1

6B6-15100-00-8P

クランクケ-スアセンブリ

2

99530-10014

ピン,ダウエル

3

6B6-W009B-00-8P

シリンダブロツクアセンブリ

4

90116-10619

BOLT, STUD

5

90105-093A5

BOLT, FLANGE

6

90201-096J9

WASHER, PLATE

7

99530-10014

ピン,ダウエル

8

90109-06051

BOLT

9

90105-06033

BOLT, FLANGE

10

90105-06M17

BOLT, FLANGE

11

69J-11301-00

アノードカバーアセンブリ

12

67F-11325-01

アノ-ド

13

67F-11328-00

グロメツト

14

90105-06M07

ボルト,フランジ

15

90430-06M03

ガスケツト

16

97595-08540

ボルト,ウイズワツシヤ

17

6B6-1310A-00-94

パン,オイル

18

6B6-13557-01

ガスケツト

19

97513-06520

BOLT, WITH WASHER

20

93603-14M15

ピン, ダウエル (6T5)

21

60E-13161-00

PIPE, DELIVERY 1

22

93210-06667

O-リング

23

95027-06010

BOLT, FLANGE

24

99530-08012

PIN, DOWEL

25

93210-08001

O-リング

26

5GH-13440-00

ELEMENT ASSY, OIL CLEANER

27

90401-20145

BOLT, UNION

28

67X-44517-10-94

MOUNT RUBBER

29

60E-G4574-00-94

ストツパーロワーマウントラバー

30

6B6-44532-00-94

ストツパ,アツパーマウント

31

90119-08835

BOLT, WITH WASHER

32

90119-08823

ボルト,ウイズワツシヤ

33

90201-099U3

ワツシヤ,プレ-ト

34

EU0-U7354-00-01

シム(T=01)
UR

34

EU0-U7354-00-03

シム(T=03)
UR

34

EU0-U7354-00-05

シム(T=05)
UR

34

EU0-U7354-00-10

シム(T=10)
UR

34

EU0-U7354-00-20

シム(T=20)
UR

35

90101-06917

BOLT

36

90109-06847

ボルト