
|
見出番号 |
部品番号 |
部品名 |
数量 |
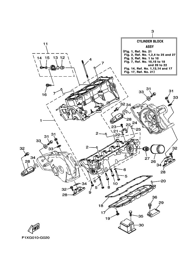
1 |
6B6-15100-00-8P |
クランクケ-スアセンブリ
|
|
2 |
99530-10014 |
ピン,ダウエル
|
|
3 |
6B6-W009B-00-8P |
シリンダブロツクアセンブリ
|
|
4 |
90116-10619 |
BOLT, STUD
|
|
5 |
90105-093A5 |
BOLT, FLANGE
|
|
6 |
90201-096J9 |
WASHER, PLATE
|
|
7 |
99530-10014 |
ピン,ダウエル
|
|
8 |
90109-06051 |
BOLT
|
|
9 |
90105-06033 |
BOLT, FLANGE
|
|
10 |
90105-06M17 |
BOLT, FLANGE
|
|
11 |
69J-11301-00 |
アノードカバーアセンブリ
|
|
12 |
67F-11325-01 |
アノ-ド
|
|
13 |
67F-11328-00 |
グロメツト
|
|
14 |
90105-06M07 |
ボルト,フランジ
|
|
15 |
90430-06M03 |
ガスケツト
|
|
16 |
97595-08540 |
ボルト,ウイズワツシヤ
|
|
17 |
6B6-1310A-00-94 |
パン,オイル
|
|
18 |
6B6-13557-01 |
ガスケツト
|
|
19 |
97513-06520 |
BOLT, WITH WASHER
|
|
20 |
93603-14M15 |
ピン, ダウエル (6T5)
|
|
21 |
60E-13161-00 |
PIPE, DELIVERY 1
|
|
22 |
93210-06667 |
O-リング
|
|
23 |
95027-06010 |
BOLT, FLANGE
|
|
24 |
99530-08012 |
PIN, DOWEL
|
|
25 |
93210-08001 |
O-リング
|
|
26 |
5GH-13440-20 |
エレメントアセンブリ,オイルクリ-ナ
|
|
27 |
90401-20145 |
BOLT, UNION
|
|
28 |
67X-44517-10-94 |
MOUNT RUBBER
|
|
29 |
60E-G4574-00-94 |
ストツパーロワーマウントラバー
|
|
30 |
6B6-44532-00-94 |
ストツパ,アツパーマウント
|
|
31 |
90119-08835 |
BOLT, WITH WASHER
|
|
32 |
90119-08823 |
ボルト,ウイズワツシヤ
|
|
33 |
90201-099U3 |
ワツシヤ,プレ-ト
|
|
34 |
EU0-U7354-00-01 |
シム(T=01) UR
|
|
34 |
EU0-U7354-00-03 |
シム(T=03) UR
|
|
34 |
EU0-U7354-00-05 |
シム(T=05) UR
|
|
34 |
EU0-U7354-00-10 |
シム(T=10) UR
|
|
34 |
EU0-U7354-00-20 |
シム(T=20) UR
|
|
35 |
90101-06917 |
BOLT
|
|
36 |
90109-06847 |
ボルト
|
|
|