
|
見出番号 |
部品番号 |
部品名 |
数量 |
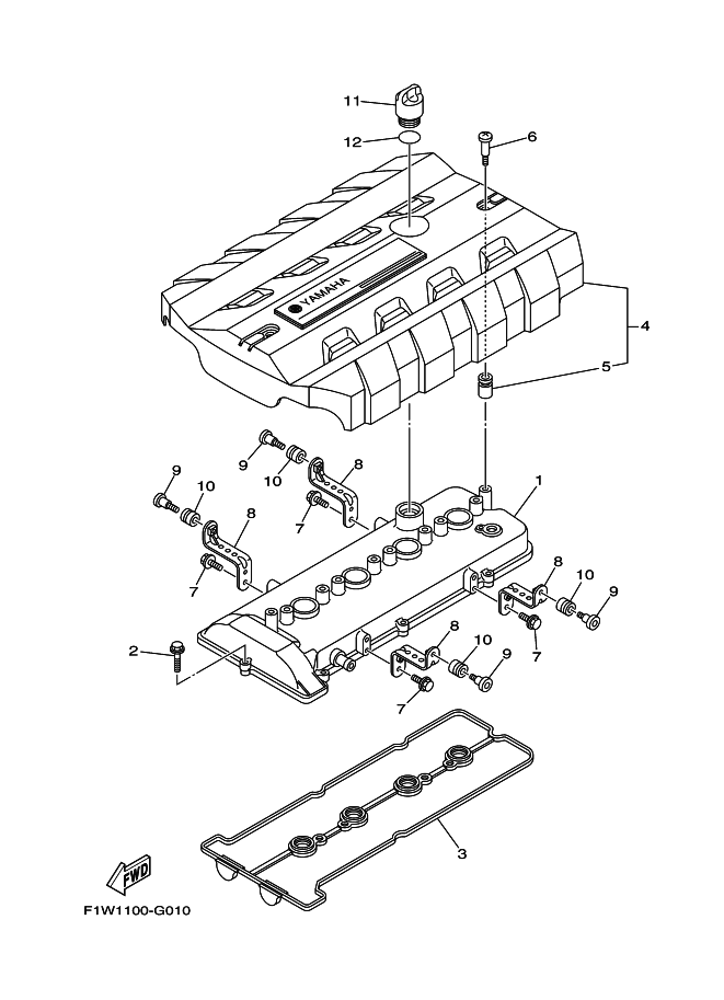
1 |
6S5-11191-00-94 |
カバ-,シリンダヘツド 1
|
|
2 |
90105-06028 |
ボルト,フランジ
|
|
3 |
6S5-11193-00 |
ガスケツト,ヘツドカバ- 1
|
|
4 |
6S5-E110M-00 |
カバ-アセンブリ 1
|
|
5 |
6S5-E1328-00 |
グロメツト
|
|
6 |
6S5-E118E-00 |
ボルト,カバーマウント
|
|
7 |
90105-06007 |
ボルト,ワツシヤベ-スドヘツド
|
|
8 |
6S5-11941-00 |
ステ-
|
|
9 |
6S5-11026-00 |
ボルト, マウント
|
|
10 |
6S5-1111G-00 |
ラバ-,マウント 1
|
|
11 |
6S5-15363-00 |
プラグ,オイル
|
|
12 |
93210-24M79 |
O-リング
|
|
|