純正パーツカタログよりご注文又はお見積
YAMAHA MarineJet  2008年式  MJ-FX SHO FX1800-G/BLUE > シリンダー1

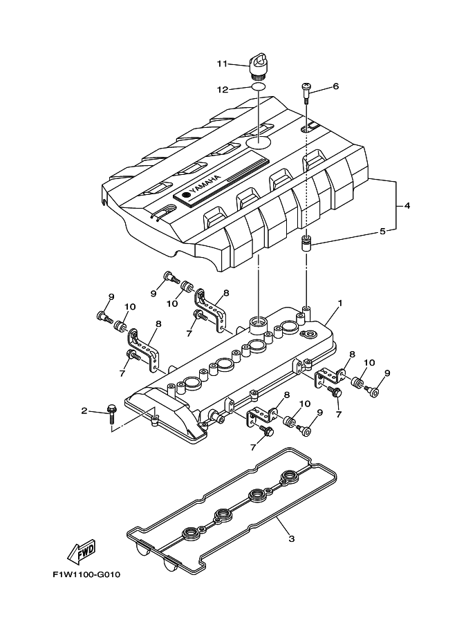
見出番号

部品番号

部品名

数量

1

6S5-11191-00-94

カバ-,シリンダヘツド 1

2

90105-06028

ボルト,フランジ

3

6S5-11193-00

ガスケツト,ヘツドカバ- 1

4

6S5-E110M-00

カバ-アセンブリ 1

5

6S5-E1328-00

グロメツト

6

6S5-E118E-00

ボルト,カバーマウント

7

90105-06007

ボルト,ワツシヤベ-スドヘツド

8

6S5-11941-00

ステ-

9

6S5-11026-00

ボルト, マウント

10

6S5-1111G-00

ラバ-,マウント 1

11

6S5-15363-00

プラグ,オイル

12

93210-24M79

O-リング