純正パーツカタログよりご注文又はお見積
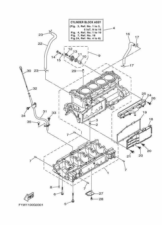
YAMAHA MarineJet  2008年式  MJ-FX SHO FX1800-G/BLUE > クランクケース

見出番号

部品番号

部品名

数量

1

6S5-15100-00-94

クランクケ-スアセンブリ

2

99530-10114

ピン,ダウエル

3

93210-11453

O-リング

4

6S5-W009B-00-94

シリンダブロツクアセンブリ

5

90105-10071

ボルト,フランジ

6

95814-06070

ボルト,フランジ

7

93606-12019

ピン,ダウエル

8

93604-10M03

ピン,ダウエル

9

69J-11301-10

アノードカバーアセンブリ

10

68V-11325-02

アノ-ド

11

67F-11328-00

グロメツト

12

90105-06M07

ボルト,フランジ

13

90430-06M03

ガスケツト

14

97095-08040

ボルト

15

92995-08600

ワツシヤ

16

6S5-11377-00

ホ-ス

17

90467-190A0

クリツプ

18

6S5-1131M-00-94

カバ-

19

6S5-13557-00

ガスケツト

20

95024-06014

ボルト,フランジ(スモールヘツド)

21

95024-06020

ボルト,フランジ(スモールヘツド)

22

6S5-11126-00

パイプ,ブリ-ザ 3

23

90467-190A0

クリツプ

24

6S5-12469-00-94

ジヨイント 1

25

6S5-12517-00

ガスケツト, ウオータインレツト

26

95023-06025

ボルト,フランジ (46X)

27

6S5-13337-00

プレ-ト,バツフルロワ

28

90110-06182

ボルト,ヘキサゴンソケツトヘツド

29

99530-10114

ピン,ダウエル

30

6S5-15362-00

プラグ,オイルレベル

31

6S5-8572F-00

パイプ, オイルレベル

32

93210-12790

O-リング(3LD)

33

95880-06014

ボルト,フランジ

34

95023-06012

ボルト,フランジ

35

90338-05M03

プラグ(6H1)